样品
成果详情
| 项目简介 | |||||
|---|---|---|---|---|---|
| 技术简介: | |||||
| 专利类型: | 发明 | 专利申请号: | CN202210731706.X | 公开号: | CN114948514A |
| 专利权人: | 南方医科大学南方医院 | 发明设计人: | 林少燕;何倩;王静;高琼;黎惠;刘志新;何小霞;郑少忆 | ||
| 所属领域: | |||||
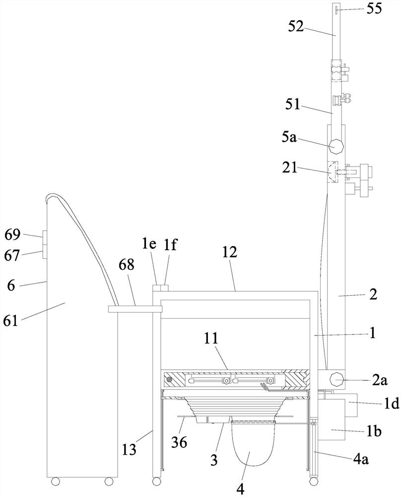
| 摘要: | 本发明公开了一种自动测尿量多功能防摔便盆,包括椅架,所述椅架的坐板中部有便孔,椅架的左右两侧有扶手,所述坐板的下方有与便孔对应的可升降、可折叠、可拆卸及可自动记录尿量的便盆,椅架的前侧有患者向前摔倒时可充气保护患者并且可拆卸安装在椅架左右两侧的防摔伤装置,椅架的后侧有椅背,椅背的前侧装有安全带。本发明的自动测尿量多功能防摔便盆便于记录尿量,具有安全保护装置,减少摔伤事件。 | ||||
| 补充信息 | |||||
| 转让方式: | 成熟度: | 预估价值: | |||
| 市场前景: | |||||