样品
成果详情
| 项目简介 | |||||
|---|---|---|---|---|---|
| 技术简介: | |||||
| 专利类型: | 实用新型 | 专利申请号: | CN202121959084.3 | 公开号: | CN216021690U | 
| 专利权人: | 南方医科大学南方医院 | 发明设计人: | 姚广裕;陈路嘉;林周盛;廖明楷;黄泽;陈佳仪;李泽霖;江雯蔚;叶长生 | ||
| 所属领域: | |||||
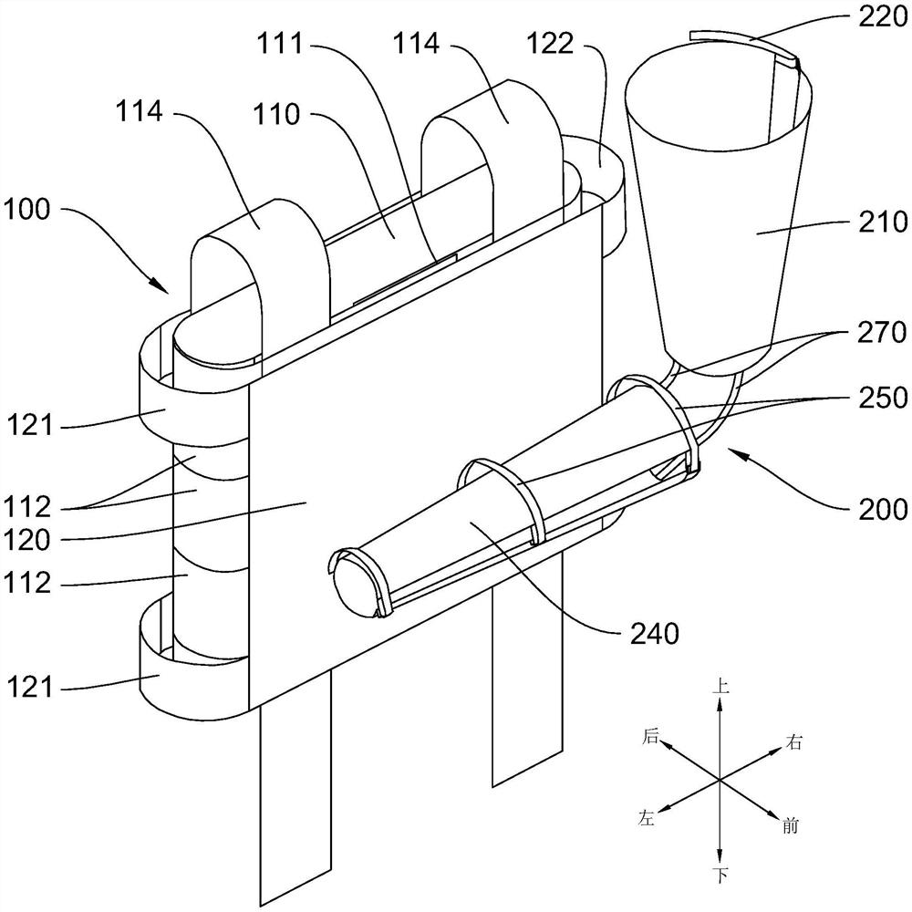
| 摘要: | 本实用新型公开了一种医用固定装置,包括:第一固定带组件,能够对患者的胸部进行加压包扎;第二固定带组件,能够对患者的上肢进行加压包扎;第一魔术贴勾面和第一魔术贴毛面,二者其一设置于第一固定带组件上,另一设置于第二固定带组件上。上述的医用固定装置能够对患者的胸部进行加压包扎并能够对患者的上肢进行固定,其中,第二固定带组件与第一固定带组件之间通过第一魔术贴勾面和第一魔术贴毛面进行固定,使得患者能够对上肢的姿势进行调整以缓解上肢的疲劳,同时第二固定带组件能够对患者的上肢进行加压包扎,使得上述的医用固定装置有利于降低患者的上肢发生淋巴水肿的概率并且能够对已发生淋巴水肿的上肢进行加压治疗。 | ||||
| 补充信息 | |||||
| 转让方式: | 成熟度: | 预估价值: | |||
| 市场前景: | |||||