样品
成果详情
| 项目简介 | |||||
|---|---|---|---|---|---|
| 技术简介: | |||||
| 专利类型: | 实用新型 | 专利申请号: | CN201922344930.X | 公开号: | CN211751544U | 
| 专利权人: | 南方医科大学南方医院 | 发明设计人: | 李咏茵;周勇军;朱煜;甄莉;朱晓慧;向城;李美慧;文梅;于哲;周艳;陈锦思;张悦;黄淇轩;郑志浩 | ||
| 所属领域: | |||||
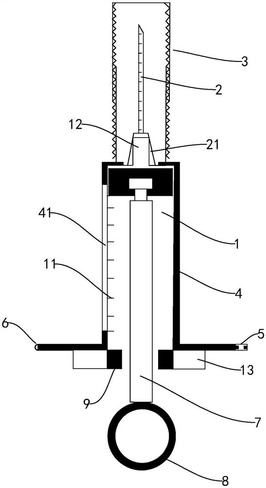
| 摘要: | 本实用新型公开了一种注射装置,包括针筒、推杆和针体,所述推杆设于所述针筒中,所述针筒用于注射的前端设有中空的防护套,所述针体设置在所述防护套中,所述防护套的高度可调,所述防护套高度范围的最高点高于所述针体,所述防护套高度范围的最低点低于所述针体的顶端,无需使用注射装置时,医务人员可将防护套的高度调节至高于针体的位置,当使用针体进行注射等工作时,可将防护套的高度调节至低于针体顶端的位置,以将相应的针体长度裸露出来进行穿刺、注射等操作,可安全且简便地调节防护套对针体防护的高度,避免医务人员与针体接触,能够有效避免刺伤医务人员,保障医务人员的职业安全,且结构简单,操作便捷。 | ||||
| 补充信息 | |||||
| 转让方式: | 成熟度: | 预估价值: | |||
| 市场前景: | |||||