样品
成果详情
| 项目简介 | |||||
|---|---|---|---|---|---|
| 技术简介: | |||||
| 专利类型: | 实用新型 | 专利申请号: | CN202023001787.3 | 公开号: | CN215018252U |
| 专利权人: | 南方医科大学南方医院 | 发明设计人: | 许波;莫晓琼;张广清;陈洁;罗小琴;宿爱山 | ||
| 所属领域: | |||||
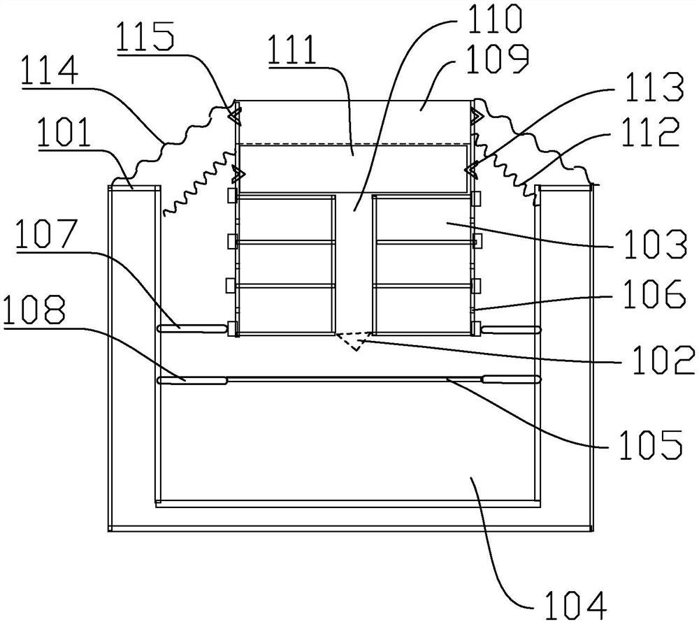
| 摘要: | 本实用新型公开了用于止血的反应器,反应器包括外壳和储存装置,外壳内的底部设置有反应腔,反应腔用于储存参与制冷反应的溶液一,反应腔的顶部设置有可刺破的封膜;储存装置可上下移动地设置在外壳中,储存装置的底部设置有用于刺破封膜的穿刺部,储存装置设置有多个储存部,储存部包括多个储存格,储存格用于储存参与制冷反应的固态物质,储存部中的各储存格层叠设置,储存格的外侧壁设置有用于连通反应腔的连通口。设计用于装溶液一的反应腔和用于装固态物质的储存格,按压储存装置,穿刺部将反应腔顶部的封膜刺破,溶液一和固态物质反应制冷,加快止血,防止出现淤血。本实用新型可广泛应用于医疗器械技术领域。 | ||||
| 补充信息 | |||||
| 转让方式: | 成熟度: | 预估价值: | |||
| 市场前景: | |||||