样品
成果详情
| 项目简介 | |||||
|---|---|---|---|---|---|
| 技术简介: | |||||
| 专利类型: | 实用新型 | 专利申请号: | CN201920837840.1 | 公开号: | CN210447720U | 
| 专利权人: | 南方医科大学南方医院 | 发明设计人: | 刘昭国;蔡开灿 | ||
| 所属领域: | |||||
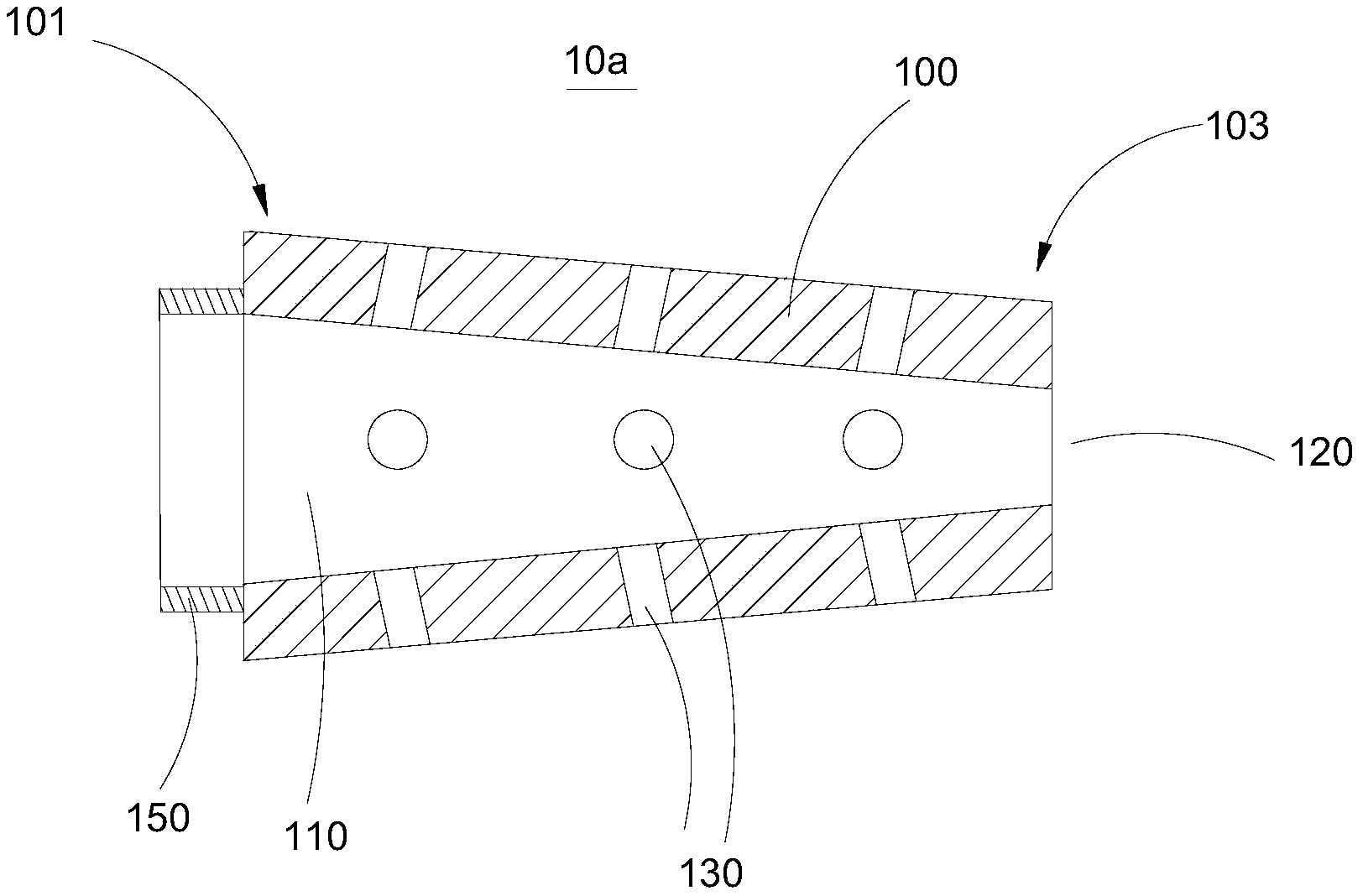
| 摘要: | 一种引流件、引流管及组合式引流管,涉及医疗器械领域。该引流件包括本体和设置于本体内的引流通道;本体由第一端向第二端延伸所得,且本体的部分或全部沿第一端向第二端逐渐收缩,以使第一端的外周大于第二端的外周;引流通道贯穿第二端以形成主引流开口,引流通道贯穿第一端,以使第一端与引流管的引流端连接时,引流通道与引流管连通。该引流件通过逐渐收缩的设置,相比于现有的圆柱状的末端,在进行血管撕裂口两端缝合,保证抽吸液体的同时,可以清晰的看到出针处,保障术野清晰,辅助缝合止血顺利进行,保障手术顺利进行,并且在缝合后,也便于将引流件从“丝线结”中顺利抽出。 | ||||
| 补充信息 | |||||
| 转让方式: | 成熟度: | 预估价值: | |||
| 市场前景: | |||||