样品
成果详情
| 项目简介 | |||||
|---|---|---|---|---|---|
| 技术简介: | |||||
| 专利类型: | 实用新型 | 专利申请号: | CN202120517215.6 | 公开号: | CN214807083U |
| 专利权人: | 南方医科大学深圳医院 | 发明设计人: | 张莉 | ||
| 所属领域: | |||||
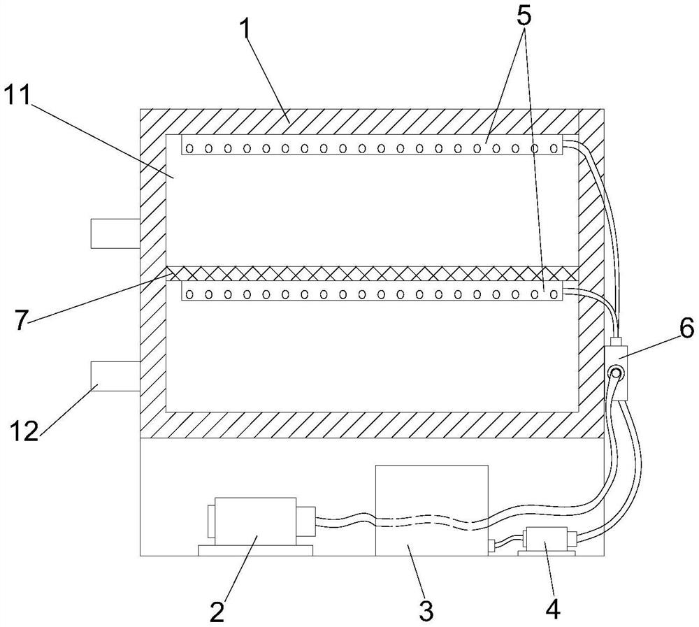
| 摘要: | 本实用新型公开一种低温灭菌器械预消毒装置,包括壳体、空压机、储液器、液泵、喷管和三通阀,所述壳体内部设有空腔,所述喷管内部中空形成管腔,所述喷管的侧壁设有若干个与所述管腔相通的喷洒孔;所述喷管设置在所述空腔内;所述空压机与所述三通阀的第一端相连通,所述储液器与所述三通阀的第二端相连通,所述管腔与所述三通阀的第三端相连通,所述液泵设置在所述储液器与所述三通阀之间。本实用新型更便于对器械进行预消毒,使预消毒操作更加方便,能有效提高预消毒效率。 | ||||
| 补充信息 | |||||
| 转让方式: | 成熟度: | 预估价值: | |||
| 市场前景: | |||||