样品
成果详情
| 项目简介 | |||||
|---|---|---|---|---|---|
| 技术简介: | |||||
| 专利类型: | 实用新型 | 专利申请号: | CN202021065268.0 | 公开号: | CN213158405U |
| 专利权人: | 南方医科大学南方医院 | 发明设计人: | 彭艳;李冰;成姚 | ||
| 所属领域: | |||||
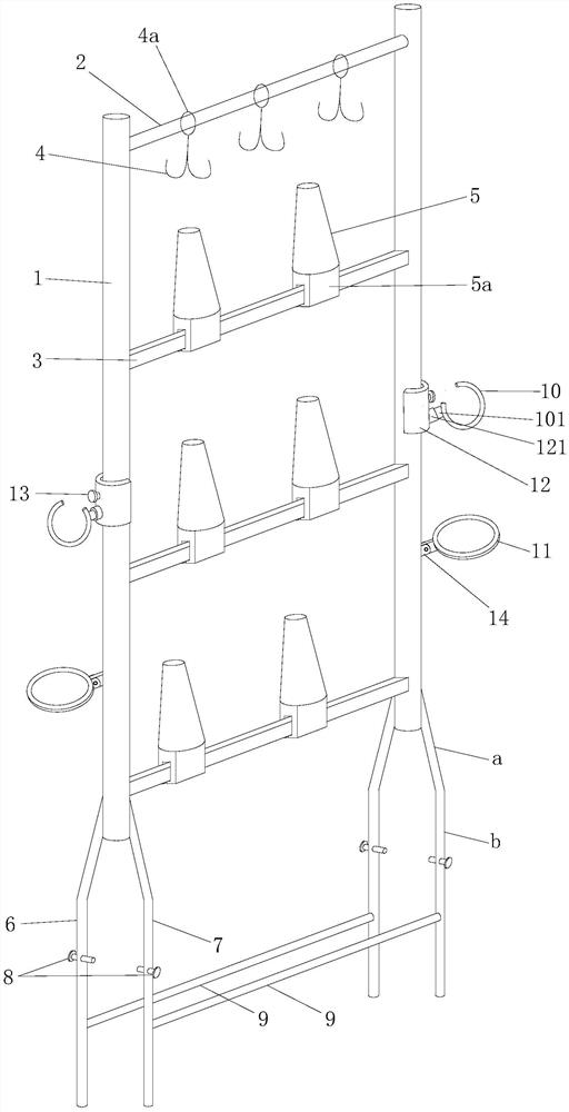
| 摘要: | 本实用新型公开了一种多功能输液架,包括固定在床头板或床尾板上的两条竖杆,所述的两条竖杆之间固定连接有从上至下依次间隔分布的一条横杆一和三条横杆二,横杆一上安装有可左右移动的挂钩,三条横杆二均分别安装有两个可左右移动的泵安装柱。本实用新型的多功能输液架能固定各种输液泵、微量泵、营养泵,能够满足临床需要。 | ||||
| 补充信息 | |||||
| 转让方式: | 成熟度: | 预估价值: | |||
| 市场前景: | |||||