样品
成果详情
| 项目简介 | |||||
|---|---|---|---|---|---|
| 技术简介: | |||||
| 专利类型: | 实用新型 | 专利申请号: | CN201621023648.1 | 公开号: | CN206403837U |
| 专利权人: | 南方医科大学南方医院;施爱德(厦门)医疗器材有限公司 | 发明设计人: | 李国新;王亚楠;林志雄;莫易凡;林聪杰;胡林锋;邱木旺 | ||
| 所属领域: | |||||
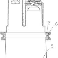
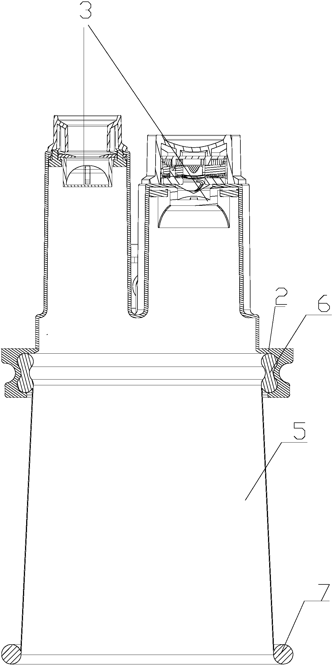
| 摘要: | 本实用新型涉及一种柔性多通道单孔腔镜穿刺器,它包括通道管以及套设于通道管上端的柔性罩体,柔性罩体的上表面上设有若干个单独的器械通道以及通气管,所述的器械通道以及通气管均与通道管相通,本实用新型结构简单;本实用新型的柔性罩体既充当了传统多通道单孔腔镜穿刺器中的多孔操作平台,又起到了与通道管良好密封的效果,使得本实用新型的柔性多通道单孔腔镜穿刺器无需另设其他的密封结构;本实用新型的柔性罩体与通道管的连接方式简单,且连接操作便捷、快速;本实用新型的柔性罩体与上环过盈配合,使得本实用新型的柔性多通道单孔腔镜穿刺器具有良好的气密性。 | ||||
| 补充信息 | |||||
| 转让方式: | 成熟度: | 预估价值: | |||
| 市场前景: | |||||