样品
成果详情
| 项目简介 | |||||
|---|---|---|---|---|---|
| 技术简介: | |||||
| 专利类型: | 实用新型 | 专利申请号: | CN201920902606.2 | 公开号: | CN211024563U |
| 专利权人: | 南方医科大学南方医院 | 发明设计人: | 罗彦嗣;张晓梅;邓逃生 | ||
| 所属领域: | |||||
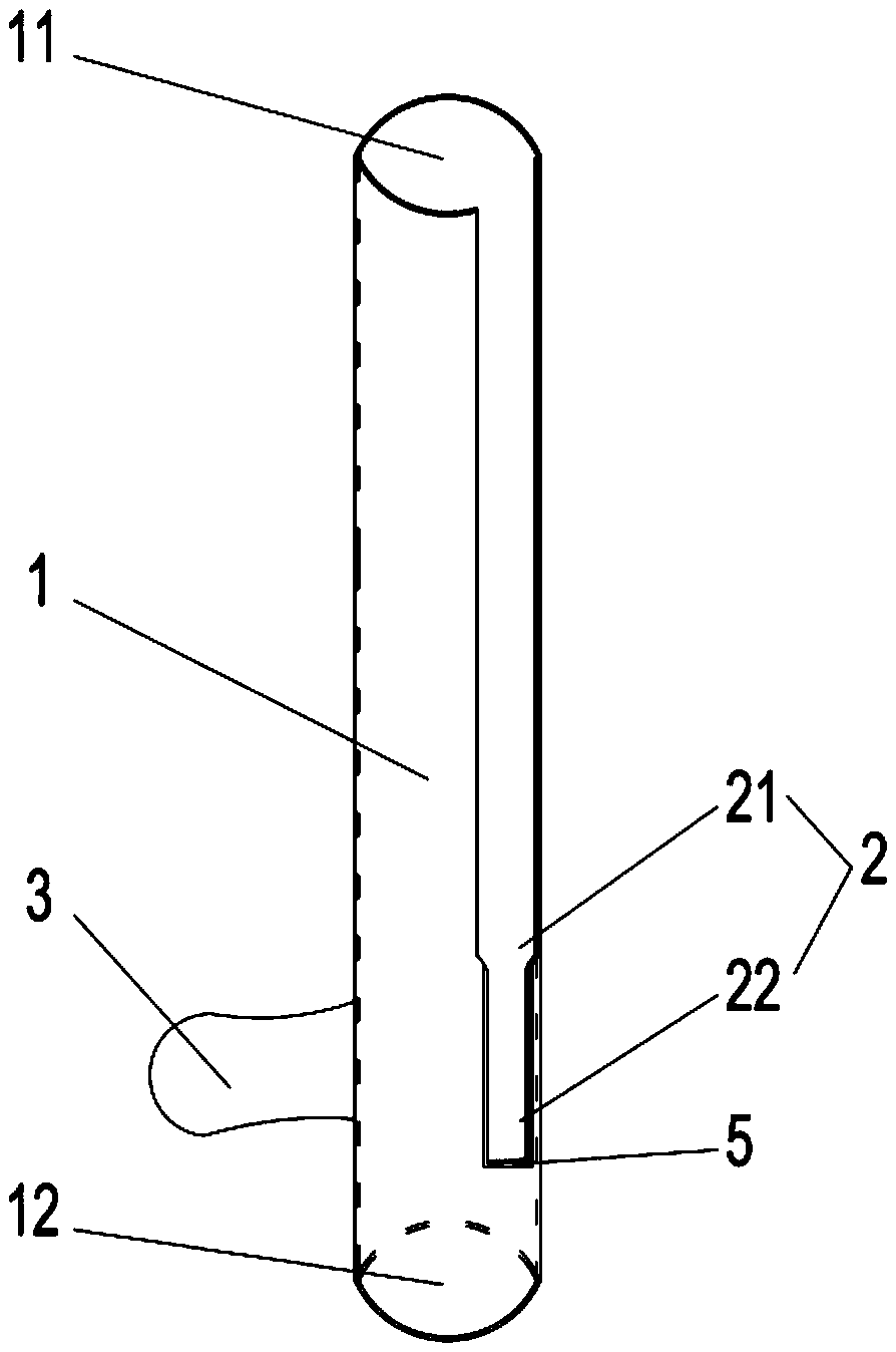
| 摘要: | 本实用新型公开了一种钢针针头保护器,包括保护筒、设置于保护筒一端用于钢针针头穿过的上端开口和设置于保护筒另一端用于与钢针连接的软管穿过的下端开口,所述保护筒的侧壁上平行设置有用于钢针针柄伸出保护筒并且用于对钢针针柄进行夹紧的针柄开口,所述针柄开口包括与上端开口连通的第一开口和与上端开口连通用于对钢针针柄进行夹紧的第二开口,所述第一开口和第二开口在同一直线上并且第一开口的宽度大于第二开口,从而钢针针柄依次通过第二开口、第一开口和上端开口穿出保护筒,所述保护筒的侧壁上还设置有用于安全操作使用的操作柄。通过本实用新型能够有效避免针头外露,保证操作人员的安全。 | ||||
| 补充信息 | |||||
| 转让方式: | 成熟度: | 预估价值: | |||
| 市场前景: | |||||