样品
成果详情
| 项目简介 | |||||
|---|---|---|---|---|---|
| 技术简介: | |||||
| 专利类型: | 实用新型 | 专利申请号: | CN202120795824.8 | 公开号: | CN215081282U |
| 专利权人: | 南方医科大学珠江医院 | 发明设计人: | 黄彩芳;简卫红;詹也男;邓绮兰 | ||
| 所属领域: | |||||
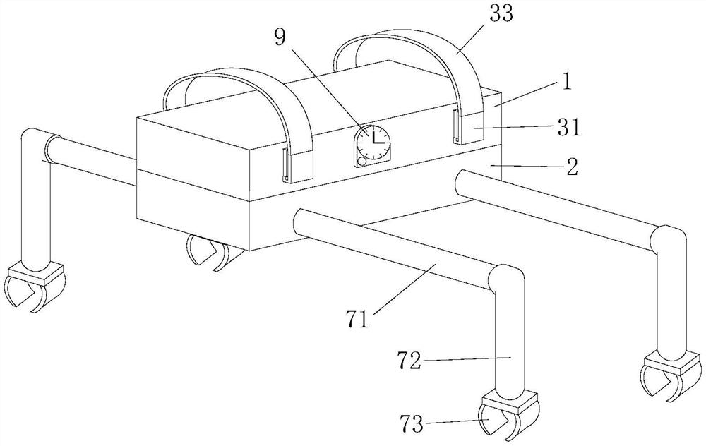
| 摘要: | 本实用新型公开了一种脑血管介入手术后下肢制动伸直固定器,包括固定架、托板和与活动板,在所述托板两侧分别设有活扣和扣接件,所述托板上还设有一定时器,所述托板的底部设有多个磁铁,所述活动板的顶面设有多个金属板,所述活动板上设有通孔与固定架滑动连接;所述托板的底部设有一连杆,所述活动板内设有电池、触杆、触点和蜂鸣器,所述活动板顶面开设有开口,所述触杆的一端与电池电性连接并且活动安装在开口一侧的活动板内,在所述开口远离触杆一侧的活动板内固定触点,所述触点与蜂鸣器电性连接,所述连杆远离托板的一端从开口处伸入活动板内与触杆活动连接。本实用新型能够更好地帮助患者固定受穿刺肢体,同时具有定时和警报的功能。 | ||||
| 补充信息 | |||||
| 转让方式: | 成熟度: | 预估价值: | |||
| 市场前景: | |||||