样品
成果详情
| 项目简介 | |||||
|---|---|---|---|---|---|
| 技术简介: | |||||
| 专利类型: | 发明 | 专利申请号: | CN201510942872.4 | 公开号: | CN105582654A |
| 专利权人: | 南方医科大学南方医院 | 发明设计人: | 李文姬;周春兰;李晓瑾;曾颖华 | ||
| 所属领域: | |||||
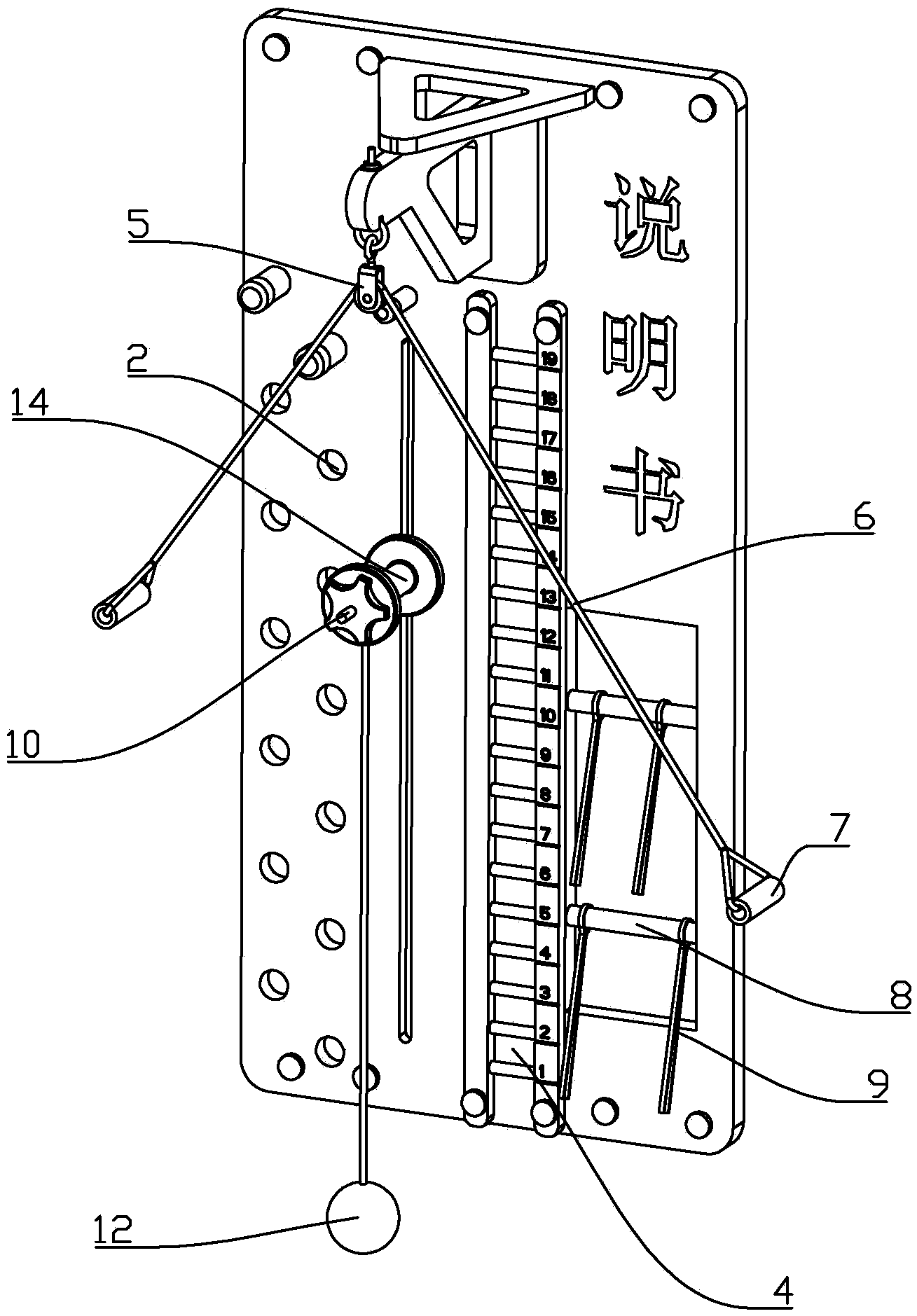
| 摘要: | 本发明公开乳腺癌术后多功能锻炼用具,包括能固定在墙面上的木板,所述木板一端面的左侧设置有多个钻孔,所述钻孔沿着木板的端面从下往上成两排交错分布,木板该侧端面的中部安装有木条,所述木条中远离木板的端面上布置有多条凹槽,所述凹槽沿着木条呈直线布置后成阶梯状,木板该侧端面的上部固定有滑轮架,所述滑轮架上安装有滑轮绳索,所述滑轮绳索的两端装有固定手柄,木板该侧端面的右侧设置有两根平行设置的横杆,每根所述横杆上装有橡皮带,其安装在病区康复锻炼室,可以帮助护士指导患者如何进行患肢功能锻炼,也可以给患者提供简单方便的多功能锻炼工具使用,提高患者锻炼的乐趣和积极性。 | ||||
| 补充信息 | |||||
| 转让方式: | 成熟度: | 预估价值: | |||
| 市场前景: | |||||