样品
成果详情
| 项目简介 | |||||
|---|---|---|---|---|---|
| 技术简介: | |||||
| 专利类型: | 实用新型 | 专利申请号: | CN201920185722.7 | 公开号: | CN210170184U |
| 专利权人: | 南方医科大学南方医院 | 发明设计人: | 胡岩君;余斌;林庆荣;姜楠;王磊;王博炜;刘冠峤 | ||
| 所属领域: | |||||
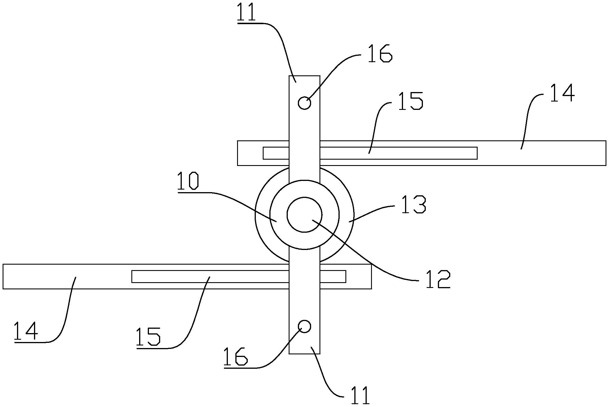
| 摘要: | 本实用新型公开了一种皮肤软组织牵张装置,包括固定套筒、调节器、两个支撑臂和两个牵张臂,调节器包括第一转轴和第一齿轮,第一齿轮安装在第一转轴上,固定套筒套在第一转轴上,两个支撑臂分别安装在固定套筒的侧面,两个牵张臂分别安装在两个支撑臂上,牵张臂上沿长度方向成型有滑槽,支撑臂上布置有与滑槽对应的滑行部,牵张臂上布置有与第一齿轮啮合的齿条结构,第一齿轮位于两个牵张臂之间。调节器通过第一齿轮同时啮合传动两个牵张臂,转动调节器即可使两个牵张臂同时移动,缓慢牵张皮肤,避免植皮,愈合美观,操作简单方便,可减轻病人痛苦,本实用新型结构合理,可广泛应用于医疗器械技术领域。 | ||||
| 补充信息 | |||||
| 转让方式: | 成熟度: | 预估价值: | |||
| 市场前景: | |||||