样品
成果详情
| 项目简介 | |||||
|---|---|---|---|---|---|
| 技术简介: | |||||
| 专利类型: | 实用新型 | 专利申请号: | CN202221120287.8 | 公开号: | CN217366692U |
| 专利权人: | 南方医科大学珠江医院 | 发明设计人: | 李辉;蔡少如;黄洋;陈群清;童健;张福伟;钟海;吴源周 | ||
| 所属领域: | |||||
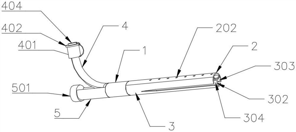
| 摘要: | 本公开属于医疗耗材领域,公开一种可分离式胸腔灌洗引流双套管,一种可分离式胸腔灌洗引流双套管,包括第一管道,所述第一管道由上腔管和下腔管组成,冲洗管的一端与所述上腔管的一端固定连接,引流管的一端与所述下腔管的一端固定连接,第二管道的一端与所述上腔管的另一端固定连接,第三管道的一端所述下腔管的另一端固定连接,所述冲洗管和所述引流管合在一起时可作为一根管,置放于脓腔中实现同步的灌洗和引流,也可将所述冲洗管和所述引流管进行分离,其中所述冲洗管置放于胸腔上部引流残留气体,所述引流管置放于胸腔下部引流残留积液,实现从胸壁置放一管达到双引流的目的。 | ||||
| 补充信息 | |||||
| 转让方式: | 成熟度: | 预估价值: | |||
| 市场前景: | |||||