样品
成果详情
| 项目简介 | |||||
|---|---|---|---|---|---|
| 技术简介: | |||||
| 专利类型: | 实用新型 | 专利申请号: | CN202223298139.8 | 公开号: | CN219183320U | 
| 专利权人: | 南方医科大学南方医院 | 发明设计人: | 丁红;林海洁;胡婉贞;王晓娜 | ||
| 所属领域: | |||||
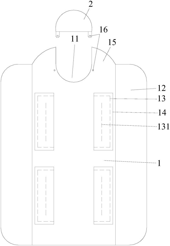
| 摘要: | 本实用新型公开了一种可观察床笠式保暖被,包括被体,所述被体长度方向的一端内凹形成弧形颈部槽,所述被体宽度方向的两侧连接有包担架布,包担架布的边缘为松紧边缘,被体在对应四肢位置均设置有透明视窗,在各透明视窗处开有可打开的操作口。本实用新型的可观察床笠式保暖被通过在对应四肢位置设置透明视窗和操作口,便于对四肢上留置的管道进行观察和操作;通过采用包担架布包裹担架,避免遮盖病人身体不严实的情况,在术前准备期、麻醉期或手术期保证保暖效果。 | ||||
| 补充信息 | |||||
| 转让方式: | 成熟度: | 预估价值: | |||
| 市场前景: | |||||