样品
成果详情
| 项目简介 | |||||
|---|---|---|---|---|---|
| 技术简介: | |||||
| 专利类型: | 发明 | 专利申请号: | CN202010475054.9 | 公开号: | CN111575165B |
| 专利权人: | 南方医科大学珠江医院 | 发明设计人: | 何国林;李婷;梅朴榕;冯磊;易笑;高毅 | ||
| 所属领域: | |||||
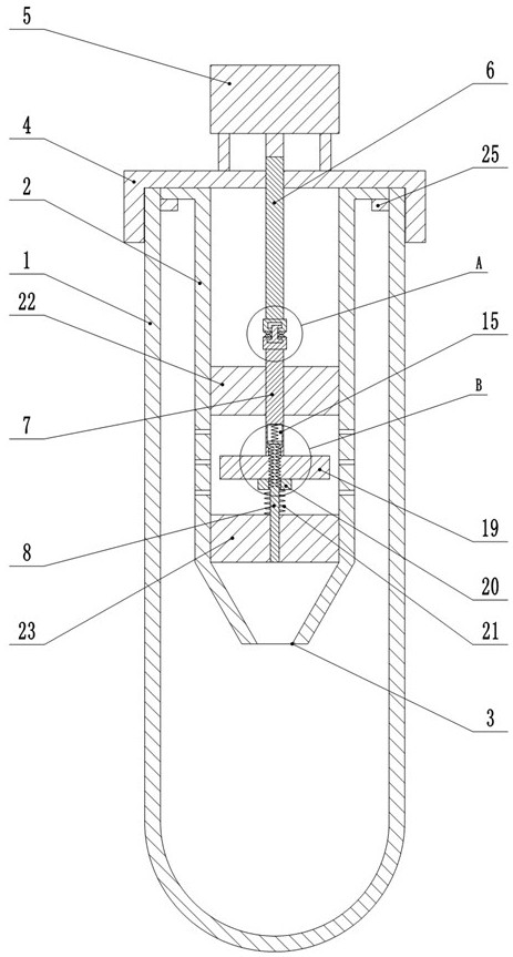
| 摘要: | 本发明公开一种常温分离纯化外泌体的套管滤过装置,包括外管和设置在所述外管中的内管,所述内管底部开设有出液口,所述外管上安装有旋盖,所述旋盖上安装有动力机构;所述动力机构包括固定在所述旋盖上的微型电机及与所述微型电机固定连接的传动件,所述传动件上安装有滤过机构,所述滤过机构设置在所述内管中。本发明提供的常温分离纯化外泌体的套管滤过装置,可以减少相对分子质量较高的物质在第一过滤网上的附着,减少第一过滤网滤孔被阻塞的情况,从而保证液体中的外泌体不会在第一过滤网过滤后丢失严重;在通过第二过滤网和圆形微孔过滤,通过多次过滤可以使液体过滤的更干净,过滤好的外泌体流入到外管中,从而得到较高纯度的外泌体。 | ||||
| 补充信息 | |||||
| 转让方式: | 成熟度: | 预估价值: | |||
| 市场前景: | |||||