样品
成果详情
| 项目简介 | |||||
|---|---|---|---|---|---|
| 技术简介: | |||||
| 专利类型: | 实用新型 | 专利申请号: | CN201621040522.5 | 公开号: | CN206349058U |
| 专利权人: | 南方医科大学南方医院 | 发明设计人: | 黄广龙;张喜安;彭俊祥;石瑾;潘军;殷延毅;莫益萍;邱晓瑜;漆松涛 | ||
| 所属领域: | |||||
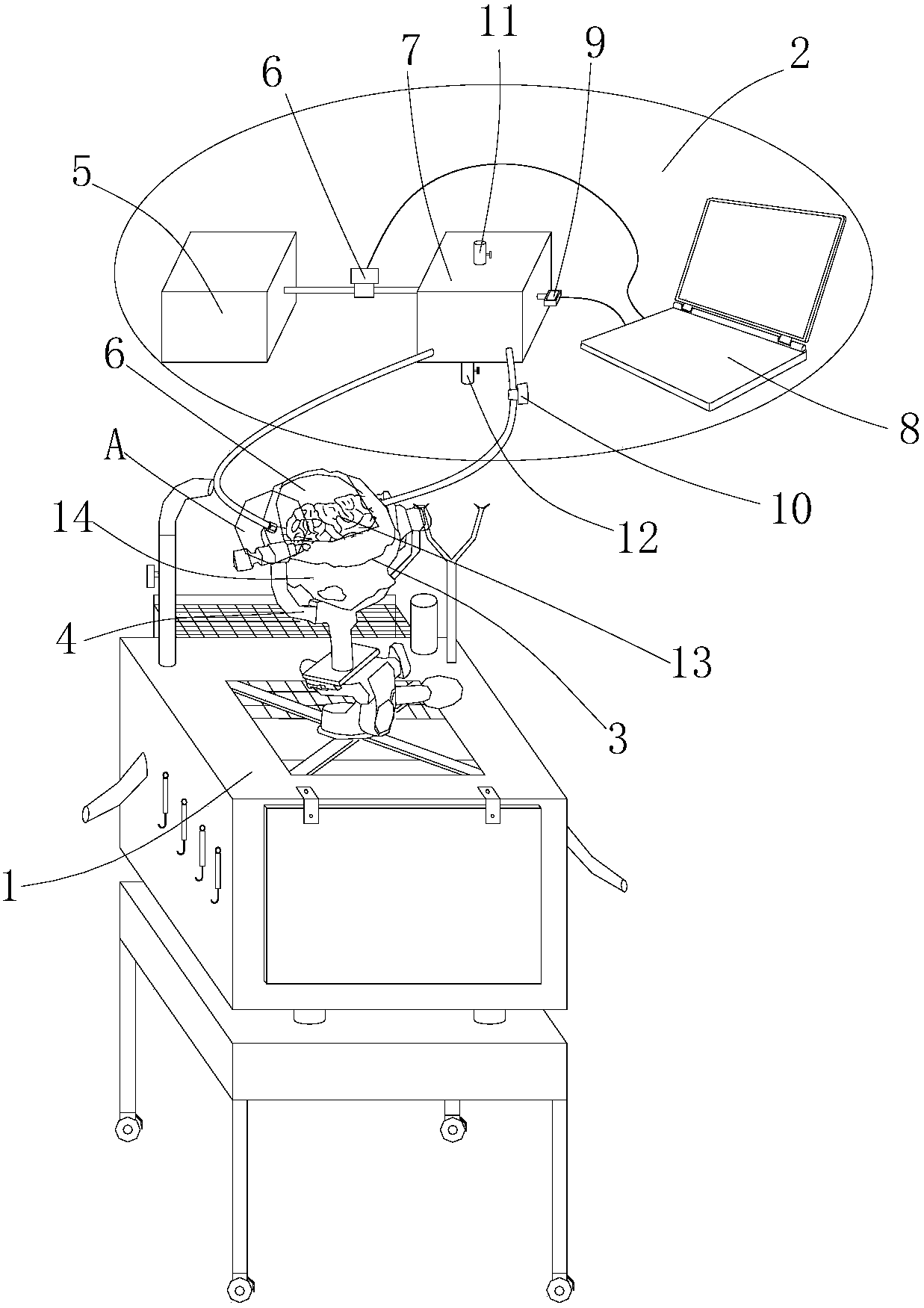
| 摘要: | 本实用新型公开了基于3D打印与呼吸循环重建的全模拟神经外科手术平台,包括用于神经外科解剖的操作平台、根据临床呼吸心率及血压形成流动液体压力体系的液体循环动力系统、具备血管神经脑组织的可拆卸模块化密闭的颅脑模型,操作平台上安装有三维度固定头架,颅脑模型固定在三维度固定头架上,颅脑模型设有液体进口和液体出口,液体循环动力系统设有动力输出口和动力输入口,其中,液体循环动力系统动力输出口通过导管与颅脑模型液体进口连通,颅脑模型液体出口通过导管与液体循环动力系统动力输入口连通。本实用新型的优点是:本实用新型可使医护人员进行模拟练习,能有效地预测真实病例在手术过程中各种突发的紧急情况;实现全方位的临床模拟,实现模拟仿真练习使得训练效果更加有效。 | ||||
| 补充信息 | |||||
| 转让方式: | 成熟度: | 预估价值: | |||
| 市场前景: | |||||