样品
成果详情
| 项目简介 | |||||
|---|---|---|---|---|---|
| 技术简介: | |||||
| 专利类型: | 实用新型 | 专利申请号: | CN202121684516.4 | 公开号: | CN214807959U | 
| 专利权人: | 南方医科大学南方医院 | 发明设计人: | 邓源;刘欢欢;邹金华;曹传辉 | ||
| 所属领域: | |||||
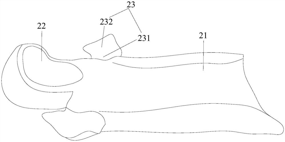
| 摘要: | 本实用新型公开了一种用于食管癌放疗的固定装置,包括固定体架、以及由固定布袋和装于固定布袋内的发泡胶构成的体位固定垫,体位固定垫置放于固定体架上方,所述体位固定垫包括长方形躯干垫,长方形躯干垫的长度方向的一端连接有一头部垫,头部垫为带有头部凹槽的帽型结构,长方形躯干垫的宽度方向的两侧靠近头部垫的位置分别连接有一手臂垫,手臂垫向头部垫方向弯折并且向远离长方形躯干垫的方向延伸,固定体架上有位于头部垫末端的两个握把。本实用新型的用于食管癌放疗的固定装置能把头部和胸腹部以及双手臂完全固定,减少误差,提高体位固定稳定性,避免在治疗过程中出现漏靶脱靶情况,提高治疗效果。 | ||||
| 补充信息 | |||||
| 转让方式: | 成熟度: | 预估价值: | |||
| 市场前景: | |||||