样品
成果详情
| 项目简介 | |||||
|---|---|---|---|---|---|
| 技术简介: | |||||
| 专利类型: | 实用新型 | 专利申请号: | CN202420162938.2 | 公开号: | CN221808284U |
| 专利权人: | 南方医科大学珠江医院 | 发明设计人: | 廖荣荣;许旺;唐丹喆;吴蓉;肖超华;潘彬燕 | ||
| 所属领域: | |||||
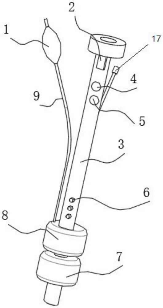
| 摘要: | 本实用新型公开了一种多功能气管导管,包括主管道,所述主管道一端外侧设置有第一封闭气囊和第二封闭气囊,所述第一封闭气囊和第二封闭气囊之间设置有连通组件,通过将本装置置于患者体内,当气管导管插入气道时,使用注射器打入气体到气管导管气囊里,使气囊鼓起来,封闭声门,使气体只能从气管导管内通过,建立人工气道,鼓起的气囊还能防止声门上端的口水倒流进肺部,防止肺部感染,然后利用第一封闭气囊和第二封闭气囊的设置,可以对气门封闭实现双层保护,以防一个破裂造成口水导流入肺产生感染,安全性能更高。 | ||||
| 补充信息 | |||||
| 转让方式: | 成熟度: | 预估价值: | |||
| 市场前景: | |||||