样品
成果详情
| 项目简介 | |||||
|---|---|---|---|---|---|
| 技术简介: | |||||
| 专利类型: | 实用新型 | 专利申请号: | CN202121362913.X | 公开号: | CN215608527U |
| 专利权人: | 南方医科大学珠江医院 | 发明设计人: | 李辉;陈群清;童健;贾龙飞;张福伟;黄洋 | ||
| 所属领域: | |||||
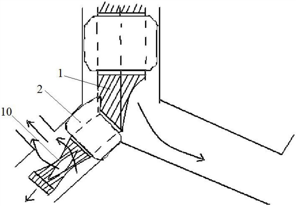
| 摘要: | 本公开属于医疗器械领域,公开一种用于胸部手术的改良双腔气管插管,包括右侧双侧气管右管,右侧双侧气管右管上包裹有气囊部,所述气囊部靠近隆突钩处;右侧双侧气管右管开设有通气孔,处于通气孔处的右侧双侧气管右管呈镂空状。处于通孔处的右侧双侧气管右管呈镂空设计,可以大大减少因导管移位或患者解剖异常对术中通气的影响,从而有利于保障患者的通气,提高手术的安全性,同时减少麻醉插管不良对手术操作的影响,加快手术进程。 | ||||
| 补充信息 | |||||
| 转让方式: | 成熟度: | 预估价值: | |||
| 市场前景: | |||||