样品
成果详情
| 项目简介 | |||||
|---|---|---|---|---|---|
| 技术简介: | |||||
| 专利类型: | 实用新型 | 专利申请号: | CN202120317305.0 | 公开号: | CN214525814U |
| 专利权人: | 南方医科大学南方医院 | 发明设计人: | 王凤娥;梁洁;杨俊明;王玉享;李涛;冯宗凤 | ||
| 所属领域: | |||||
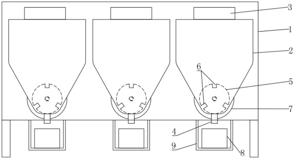
| 摘要: | 本实用新型公开了一种采血管储存装置,包括壳体,在壳体内设有若干个储存仓;在每一储存仓的顶部均设有一用于标识采血管类别的标识腔,在每一储存仓的底部均设有出管通道且出管通道的一端伸出壳体的底部,还在每一储存仓内且位于出管通道的上方活动安装有送管转筒,在每一送管转筒的外壁上均开设有若干个置管腔且每一置管腔只能容纳一个采血管;还包括安装在每一储存仓外部的驱动电机,驱动电机的输出轴均与相应的送管转筒固定连接;在每一出管通道的下方均安装有一用于收纳采血管落管的收管盒,收管盒均通过一安装架固定安装在壳体的底部。本实用新型便于选管,能够防止釆血人员拿错采血管,同时还能够避免因釆血管掉落而造成破损等问题。 | ||||
| 补充信息 | |||||
| 转让方式: | 成熟度: | 预估价值: | |||
| 市场前景: | |||||