样品
成果详情
| 项目简介 | |||||
|---|---|---|---|---|---|
| 技术简介: | |||||
| 专利类型: | 实用新型 | 专利申请号: | CN202020804116.1 | 公开号: | CN213158393U |
| 专利权人: | 南方医科大学南方医院 | 发明设计人: | 彭阳;余江;李房妹;程梅容;肖敏;王晴雷 | ||
| 所属领域: | |||||
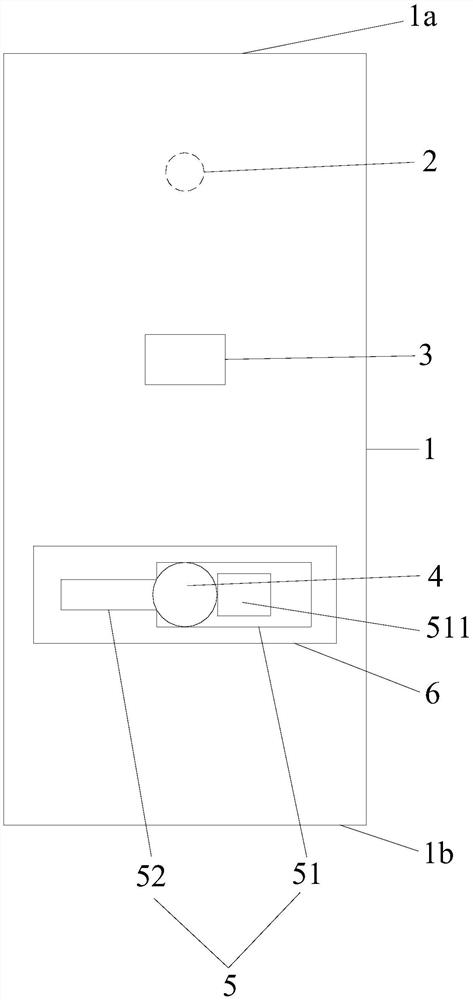
| 摘要: | 本实用新型公开了一种一体式深静脉管敷料贴,包括敷料贴主体,敷料贴主体的下侧面为粘贴面,所述敷料贴主体为长方形结构,敷料贴主体上有沿长度方向依序布置的一个泡沫敷贴、一个开孔和一个圆柄固定贴,泡沫敷贴位于敷料贴主体的下侧面,圆柄固定贴位于敷料贴主体的上侧面,敷料贴主体上侧面还有沿敷料贴主体宽度方向布置于圆柄固定贴的两侧的可交叉固定圆柄的两条圆柄固定带。本实用新型的一体式深静脉管敷料贴操作简便,减少了医务人员的工作量,提高了工作效率。 | ||||
| 补充信息 | |||||
| 转让方式: | 成熟度: | 预估价值: | |||
| 市场前景: | |||||