样品
成果详情
| 项目简介 | |||||
|---|---|---|---|---|---|
| 技术简介: | |||||
| 专利类型: | 实用新型 | 专利申请号: | CN201921032579.4 | 公开号: | CN210172177U |
| 专利权人: | 南方医科大学南方医院 | 发明设计人: | 李园芳;廖卫华;吴宏丽;容观芬 | ||
| 所属领域: | |||||
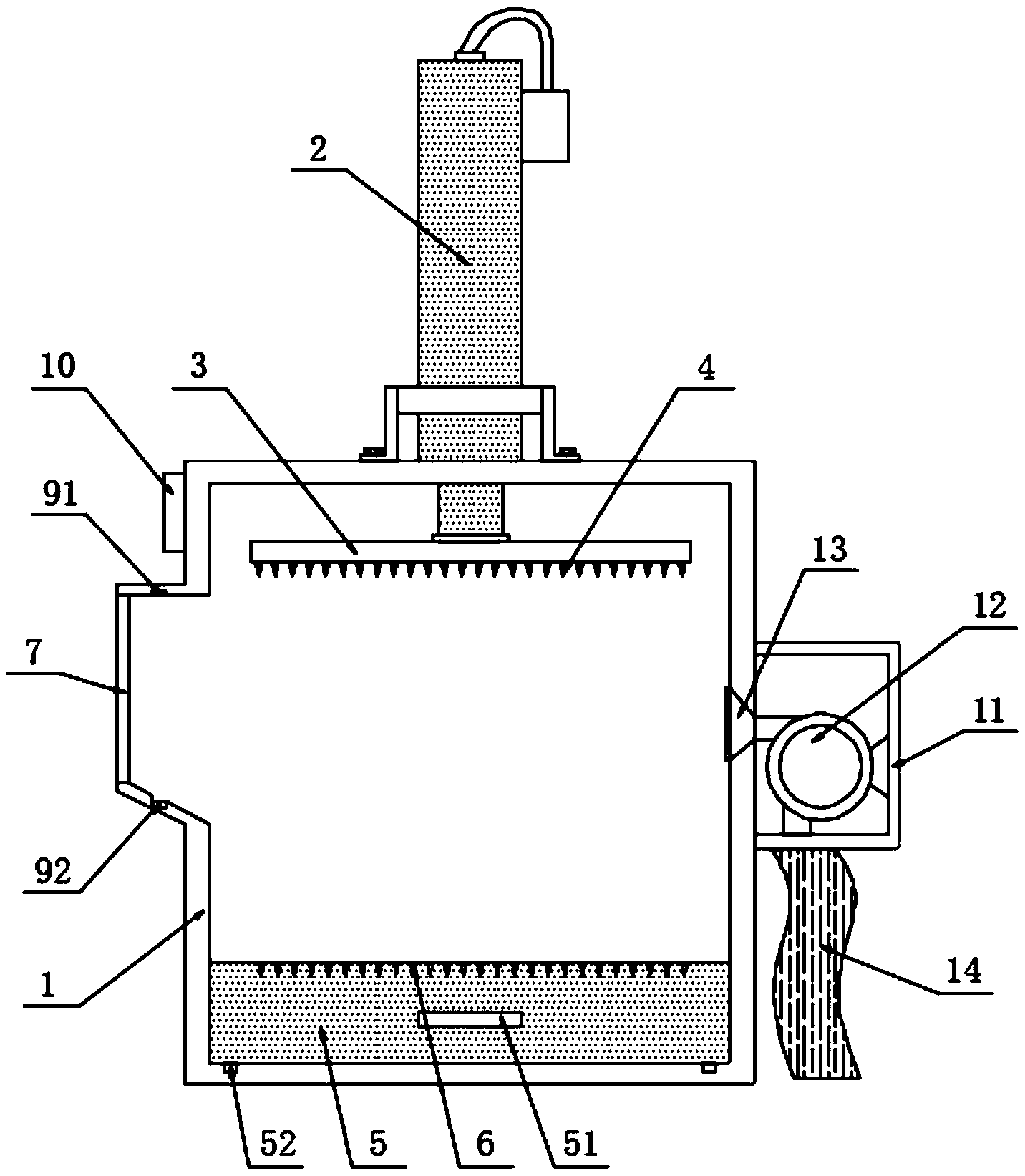
| 摘要: | 本实用新型公开了一种奶粉罐销毁装置,具体涉及奶粉罐处理领域,包括固定箱,所述固定箱的顶部安装有伸缩式液压缸,所述伸缩式液压缸的底部活塞杆端位于固定箱的内部位置处连接有压板,所述压板的底部均匀设置有尖锥,所述固定箱的内部位于压板的下方位置处连接有放置板,所述放置板的顶部对应尖锥的下方位置处均匀设置有锥槽,所述固定箱的外侧壁设置有进料架。本实用新型便于对压扁的奶粉罐进行打孔处理,有效的对使用后的空奶粉罐进行销毁处理,避免不法分子对遗弃的旧奶粉罐再次利用,对婴儿的健康造成不良影响,且有效地避免在压板下压过程中操作者的身体部位伸入固定箱的内部造成伤害,提高了使用过程中的安全性能。 | ||||
| 补充信息 | |||||
| 转让方式: | 成熟度: | 预估价值: | |||
| 市场前景: | |||||