样品
成果详情
| 项目简介 | |||||
|---|---|---|---|---|---|
| 技术简介: | |||||
| 专利类型: | 实用新型 | 专利申请号: | CN202321777670.5 | 公开号: | CN220193384U |
| 专利权人: | 南方医科大学南方医院 | 发明设计人: | 胡小娜;杨娟 | ||
| 所属领域: | |||||
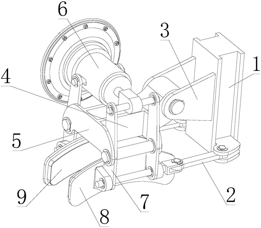
| 摘要: | 本实用新型涉及轮椅领域,具体为一种折叠式电动轮椅车的锁定装置,包括安装支架、转动支架、夹持支架、转动伸缩杆、杠杆件、夹持件和刹车片;安装支架侧面与转动连接;安装支架侧面与转动支架连接;转动支架远离安装支架的一端与连接支架转动连接;连接支架侧面与夹持支架连接;夹持支架侧面与杠杆件转动连接;杠杆件顶部与转动伸缩杆转动连接;本实用新型通过本装置能够有效的提高对于多种电动轮椅车的车轮侧面进行止锁的锁定效果,通过本装置的夹持方式能够兼容多种电动轮椅的型号同时方便本装置安装在电动轮椅侧面,从而实现了在轮椅本身制动效果降低后,通过本装置实现对轮椅的制动止锁固定效果的补充或者加强。 | ||||
| 补充信息 | |||||
| 转让方式: | 成熟度: | 预估价值: | |||
| 市场前景: | |||||