样品
成果详情
| 项目简介 | |||||
|---|---|---|---|---|---|
| 技术简介: | |||||
| 专利类型: | 实用新型 | 专利申请号: | CN202023001940.2 | 公开号: | CN215306326U |
| 专利权人: | 南方医科大学南方医院 | 发明设计人: | 许波;赖晶;莫晓琼;梁钥;宿爱山;罗小琴 | ||
| 所属领域: | |||||
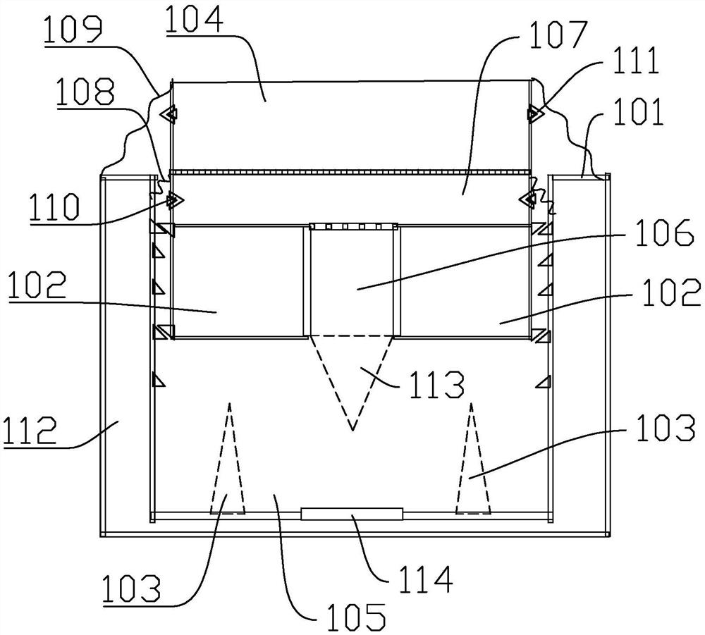
| 摘要: | 本实用新型公开了一种止血器,止血器包括外壳、储存装置和至少一个第一穿刺部,储存装置可上下移动地安装在外壳中,储存装置的底部与外壳底部之间构成反应腔,反应腔用于储存固态物质,储存装置中设置有至少一个储存格,储存格用于装溶液一;第一穿刺部设置在外壳内的底部;外壳的侧壁和底壁设置有用于装硫酸钠溶液的夹层,外壳底部的内壁设置有封膜,储存装置的底部设置有用于刺破封膜的第二穿刺部。按压储存装置,第一穿刺部刺破储存格,溶液一和固态物质反应制冷,加快止血,防止出现淤血。止血完成后,继续按压储存装置,第二穿刺部将外壳底部的封膜刺破,硫酸钠溶液与其中的物质反应。本实用新型可广泛应用于医疗器械技术领域。 | ||||
| 补充信息 | |||||
| 转让方式: | 成熟度: | 预估价值: | |||
| 市场前景: | |||||