样品
成果详情
| 项目简介 | |||||
|---|---|---|---|---|---|
| 技术简介: | |||||
| 专利类型: | 发明 | 专利申请号: | CN202311163867.4 | 公开号: | CN117137691A |
| 专利权人: | 南方医科大学珠江医院 | 发明设计人: | 林昭伟;张静文 | ||
| 所属领域: | |||||
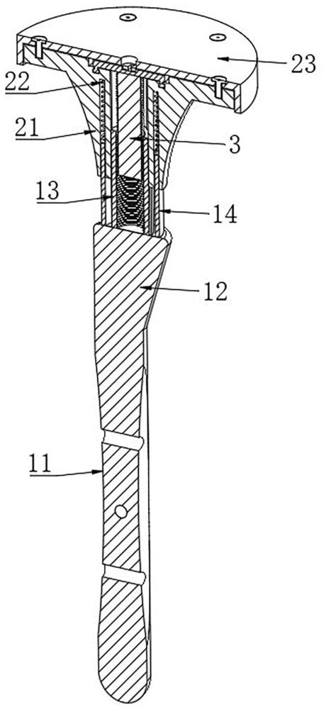
| 摘要: | 本发明属于胫骨延长杆技术领域,尤其为一种胫骨延长杆偏心调节器械,包括偏心杆,所述偏心杆的顶面中部固定设有连接筒,所述连接筒的外侧活动套接设有支撑平台,所述支撑平台包括调节端,所述调节端的中部开设有调节孔,所述调节孔的顶部开设有转动槽,所述转动槽的内侧活动卡接设有调节组件,所述调节组件包括调节螺杆、转板、操作槽、连接环和限位环。本发明在对患者胫骨进行再次手术时,可通过旋拧工具转动转板,从而调整调节螺杆在连接筒内侧的位置,从而调整外侧支撑平台的位置,对整体偏心延长杆的长度进行调节,调节方便,且调节时无需对支撑平台进行调整,避免后续因偏心延长杆偏斜导致需要再次调整支撑平台的情况,提高手术效率。 | ||||
| 补充信息 | |||||
| 转让方式: | 成熟度: | 预估价值: | |||
| 市场前景: | |||||