样品
成果详情
| 项目简介 | |||||
|---|---|---|---|---|---|
| 技术简介: | |||||
| 专利类型: | 发明 | 专利申请号: | CN202510640823.9 | 公开号: | CN120154495A | 
| 专利权人: | 南方医科大学南方医院 | 发明设计人: | 陈冰莎;胡小龙;齐宏亮;刘克玄;丁红 | ||
| 所属领域: | |||||
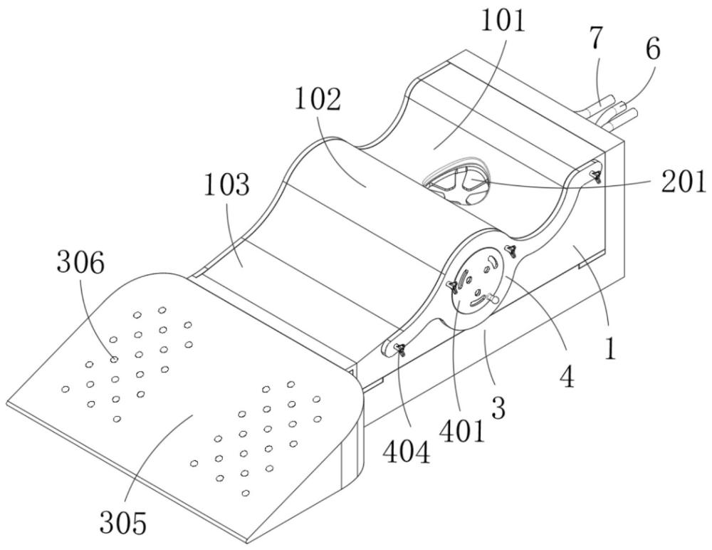
| 摘要: | 本发明提供一种医用头颈枕装置,属于医疗工具技术领域。包括橡胶支撑垫,橡胶支撑垫顶部的一侧安装有枕骨区,橡胶支撑垫顶部的中间位置处安装有颈椎区,橡胶支撑垫顶部的另一侧安装有肩背区,限位组件,限位组件用于对患者头颈部进行支撑限位,限位组件与橡胶支撑垫相连接。本发明通过设置限位组件,不仅可以调节颈椎区的高度,进而适配不同患者的体型,从而提高本医用头颈枕的适用范围,还可以提高患者颈椎与本医用头颈枕的适配效果,从而提高患者的舒适度,以及头颈枕对患者的支撑效果,保证手术过程中患者的头部不会出现不稳定的现象。 | ||||
| 补充信息 | |||||
| 转让方式: | 成熟度: | 预估价值: | |||
| 市场前景: | |||||