样品
成果详情
| 项目简介 | |||||
|---|---|---|---|---|---|
| 技术简介: | |||||
| 专利类型: | 实用新型 | 专利申请号: | CN201420363777.X | 公开号: | CN203988503U |
| 专利权人: | 南方医科大学 | 发明设计人: | 欧阳钧;房亚峰;吴卫东 | ||
| 所属领域: | |||||
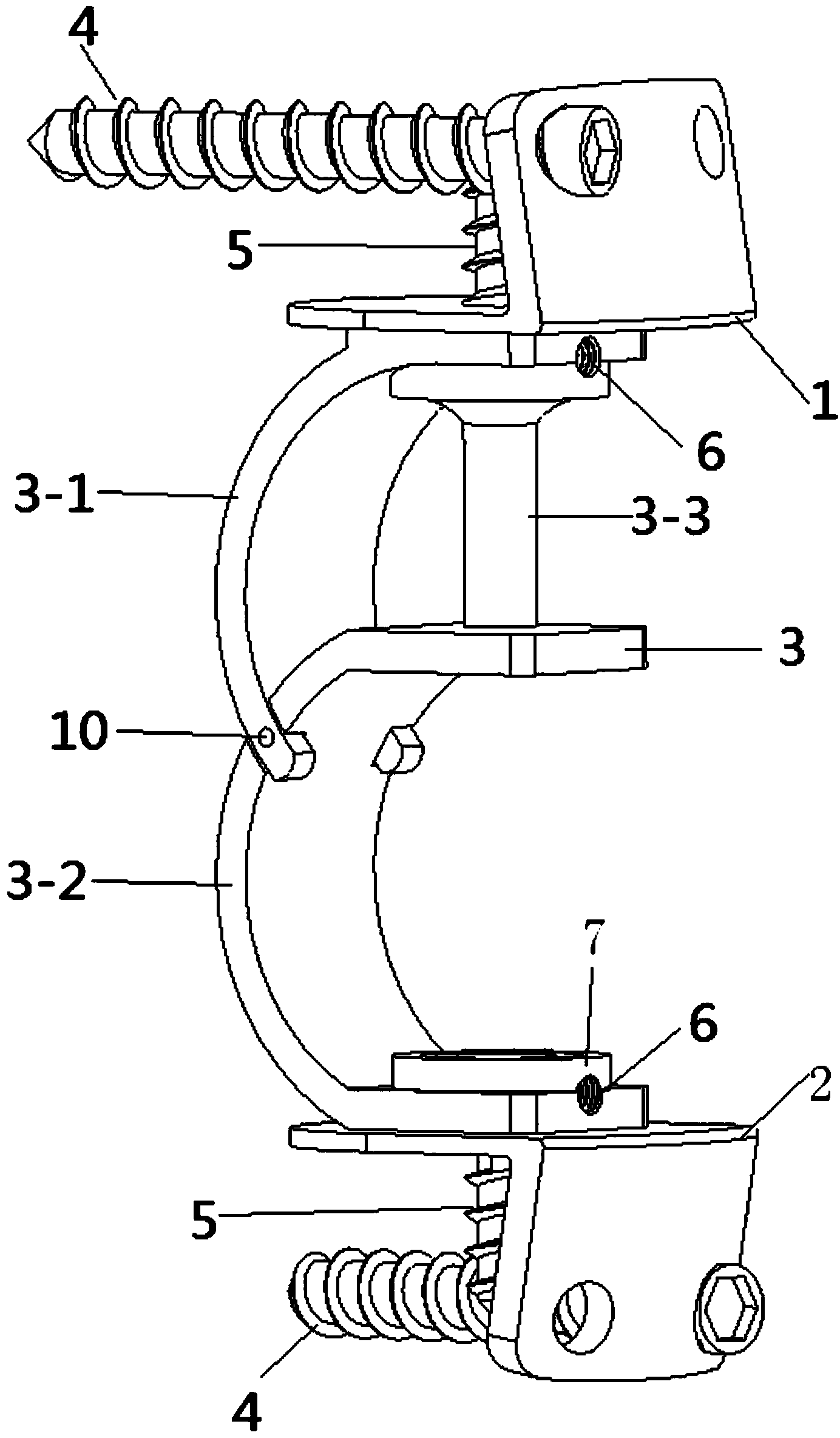
| 摘要: | 本实用新型公开了一种两节段动态人工椎体,包括弹性支架,所述弹性支架为两段C字形片状结构,弹性支架固定连接于上托板与下托板之间,上C字形片状结构的上端与下C字形片状结构的上端之间设置支撑柱,上C字形片状结构的下端与下C字形片状结构的中上方连接。本两节段动态人工椎体在一定范围内能满足轴向变形和弯曲变形,保留了脊柱的弹性稳定性及活动性,实现了弹性固定,同时可以有效改善对邻近节段负荷增加、退变加速等并发症的影响;此种结构不仅可以满足对连续多个椎体节段的重建,同时又能协调好刚度和弹性之间的关系,具有较好的稳定性。 | ||||
| 补充信息 | |||||
| 转让方式: | 成熟度: | 预估价值: | |||
| 市场前景: | |||||