样品
成果详情
| 项目简介 | |||||
|---|---|---|---|---|---|
| 技术简介: | |||||
| 专利类型: | 实用新型 | 专利申请号: | CN202221286740.2 | 公开号: | CN217489527U |
| 专利权人: | 南方医科大学珠江医院 | 发明设计人: | 凌玲;李菀丹;李庆;文美红;谢杨微;朱胜权 | ||
| 所属领域: | |||||
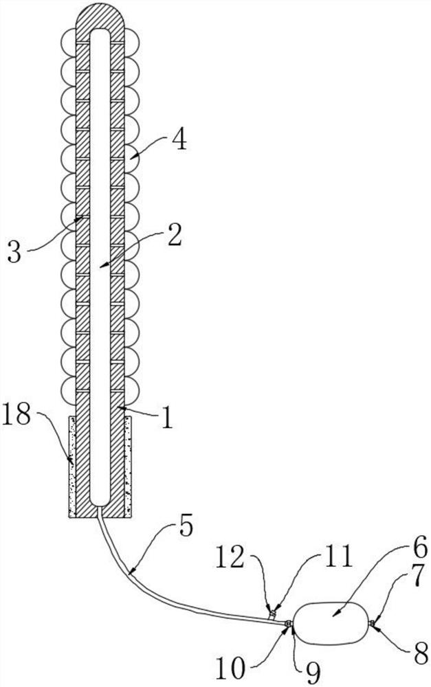
| 摘要: | 本实用新型公开了一种扩阴训练专用扩张器,包括加气棒,所述加气棒的内部设有通气腔,所述通气腔的外壁固定连接有多个气囊,所述加气棒上贯穿设有多个换气槽,每个所述换气槽均与通气腔相连通,每个所述换气槽分别与气囊相连通,所述加气棒上贯穿设有与其固定连接的第一连接管,所述第一连接管与通气腔相连通,所述第一连接管固定连接有出气口,所述出气口固定连接有手动加气球,所述手动加气球上固定连接有进气口,所述第一连接管上固定连接有放气口。本实用新型通过手动打气可以使患者根据治疗后的情况自己慢慢进行扩阴训练,操作简单;同时便于将药物注入到身体内,从而对患处进行治疗。 | ||||
| 补充信息 | |||||
| 转让方式: | 成熟度: | 预估价值: | |||
| 市场前景: | |||||