样品
成果详情
| 项目简介 | |||||
|---|---|---|---|---|---|
| 技术简介: | |||||
| 专利类型: | 实用新型 | 专利申请号: | CN202020740962.1 | 公开号: | CN212325542U |
| 专利权人: | 南方医科大学南方医院 | 发明设计人: | 贾海娜;彭阳;肖敏 | ||
| 所属领域: | |||||
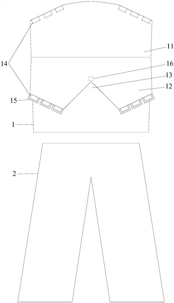
| 摘要: | 本实用新型公开了具有保暖功能的甲状腺手术患者无菌手术衣,包括分体式的无袖上衣和裤子,无袖上衣的前片开有开孔,开孔的上边缘延伸至与肩部对应位置,开孔的下边缘延伸至与乳头对应位置,开孔的下边缘连接有可下翻打开开孔的一块遮盖布,遮盖布与无袖上衣的后片在左右两侧肩部位置间隔式地可拆卸固定连接。本实用新型的具有保暖功能的甲状腺手术患者无菌手术衣可以保暖,防止术中低体温,无需给病人换上常规病号服,能保证常规术后6小时需要的绝对卧床,便于更换和便于观察术后颈部敷料和体征。 | ||||
| 补充信息 | |||||
| 转让方式: | 成熟度: | 预估价值: | |||
| 市场前景: | |||||