样品
成果详情
| 项目简介 | |||||
|---|---|---|---|---|---|
| 技术简介: | |||||
| 专利类型: | 实用新型 | 专利申请号: | CN202320757415.8 | 公开号: | CN219651664U |
| 专利权人: | 南方医科大学南方医院 | 发明设计人: | 胡道坤;段禾祯;范冬冬;吴振明;刘裕良;邝华胜;刘佳宾;牛花蕊 | ||
| 所属领域: | |||||
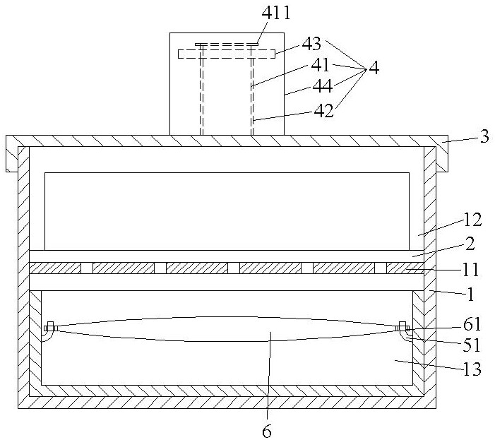
| 摘要: | 本实用新型公开了一种daily QA3晨检仪储存收纳盒,包括盒体,所述盒体内通过孔隙状隔板分隔为上腔和下腔,上腔为顶部敞口的用于容纳daily QA3晨检仪的容纳腔,上腔的腔顶配合有可取下的盖子,下腔的其中一侧开有开口,下腔内有自开口进出的抽屉,抽屉内有可取出的悬置于抽屉内且内部填充有吸水树脂的无纺布袋,盖子的顶部或盒体的侧面有导线收卷装置。本实用新型的daily QA3晨检仪储存收纳盒能避免daily QA3加速器晨检仪受湿度影响,保证检测结果准确,且能收卷导线,使地面更为整洁。 | ||||
| 补充信息 | |||||
| 转让方式: | 成熟度: | 预估价值: | |||
| 市场前景: | |||||