样品
成果详情
| 项目简介 | |||||
|---|---|---|---|---|---|
| 技术简介: | |||||
| 专利类型: | 实用新型 | 专利申请号: | CN202220918646.8 | 公开号: | CN217489381U |
| 专利权人: | 南方医科大学南方医院 | 发明设计人: | 彭程 | ||
| 所属领域: | |||||
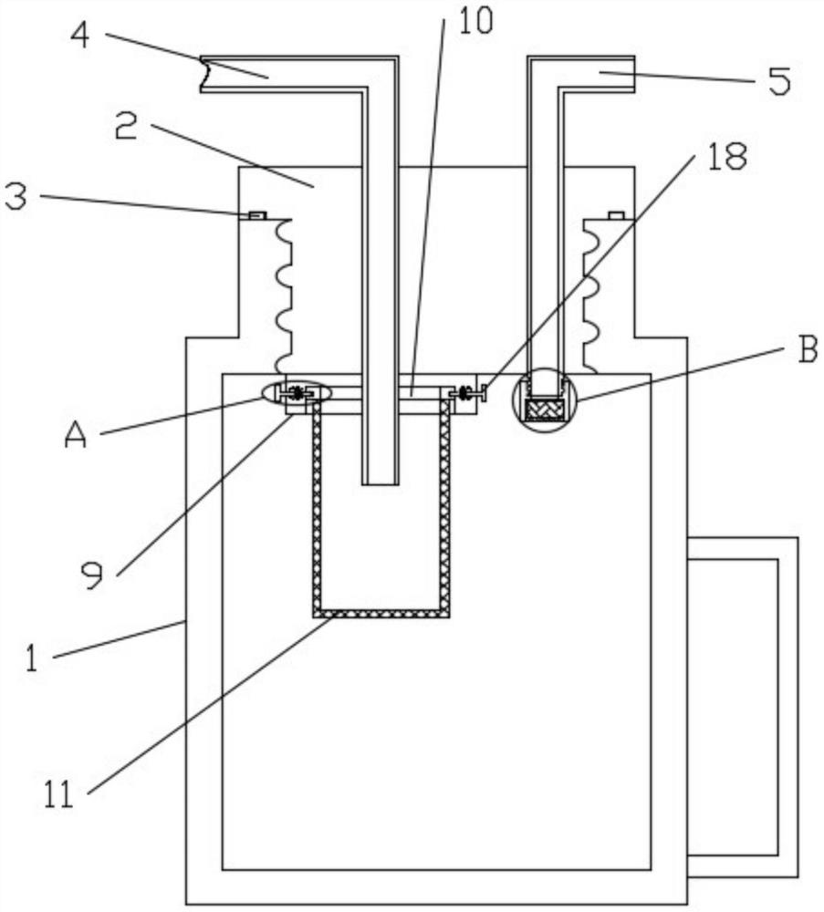
| 摘要: | 本实用新型涉及人工流产吸引管装置技术领域,具体涉及清洗妇科人工流产吸引管装置,其技术方案是:包括透明吸引瓶,还包括瓶盖和滤筒组件,透明吸引瓶顶端内壁设置的螺纹连接有瓶盖,瓶盖的两侧分别固定安装有引流管和吸气管,吸气管的底端螺纹连接有除异味组件,瓶盖的底端的一侧固定安装有安装件,滤筒组件的顶端滑动设置在安装件的底端内,安装件的四侧均设置有卡位机构,本实用新型的有益效果是:设置滤筒组件可将血水中的绒毛组件过滤出来,避免了后期医护人员手动过滤,且设置的滤筒组件拆装简单,便于医护人员观察绒毛组织,在吸气管的底端上可拆卸安装有除异味组件,可除去气体中的异味,且除异味拆装简单,便于更换。 | ||||
| 补充信息 | |||||
| 转让方式: | 成熟度: | 预估价值: | |||
| 市场前景: | |||||