样品
成果详情
| 项目简介 | |||||
|---|---|---|---|---|---|
| 技术简介: | |||||
| 专利类型: | 实用新型 | 专利申请号: | CN202321780329.5 | 公开号: | CN220833761U |
| 专利权人: | 南方医科大学珠江医院 | 发明设计人: | 黄楚云;李双华;纪晓屏;乔芬;李唤唤 | ||
| 所属领域: | |||||
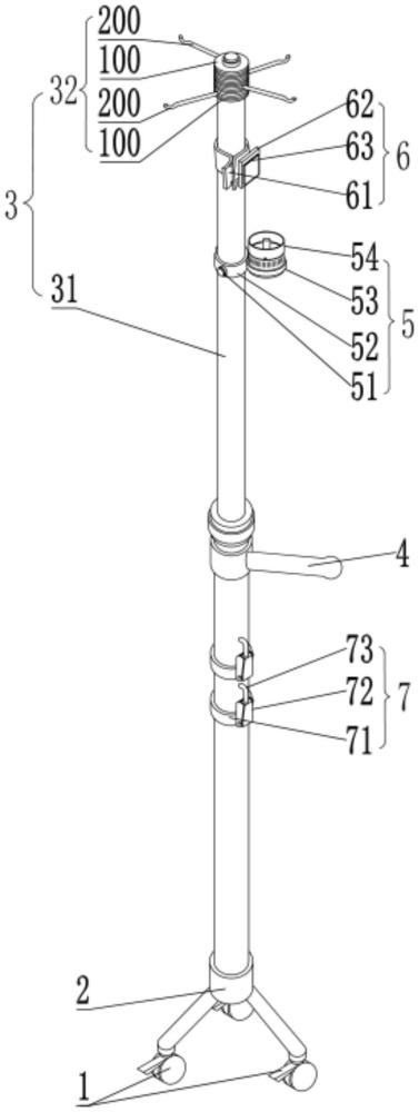
| 摘要: | 本实用新型公开了一种可伸缩式输液拐杖,包括带有行走轮的底座;在所述底座的顶部设有一可伸缩调节其高度以适配于不同场所的行走活动的可伸缩输液架,在所述可伸缩输液架上套设有一用于供患者握持行走活动的拐杖手柄,还在所述可伸缩输液架上且位于所述拐杖手柄的上方可拆卸设有一用于与外部的输液器配合用于控制该外部的输液器的输液速率的流量调节结构。本实用新型具有便于移动且不易造成患者摔倒以有效辅助患者行走活动、便于收缩以适配于不同场所的行走活动、能够有效调控输液速率的优点。 | ||||
| 补充信息 | |||||
| 转让方式: | 成熟度: | 预估价值: | |||
| 市场前景: | |||||