样品
成果详情
| 项目简介 | |||||
|---|---|---|---|---|---|
| 技术简介: | |||||
| 专利类型: | 实用新型 | 专利申请号: | CN202320496349.3 | 公开号: | CN219516306U |
| 专利权人: | 南方医科大学珠江医院 | 发明设计人: | 黄美红;张翠兰;黄琼 | ||
| 所属领域: | |||||
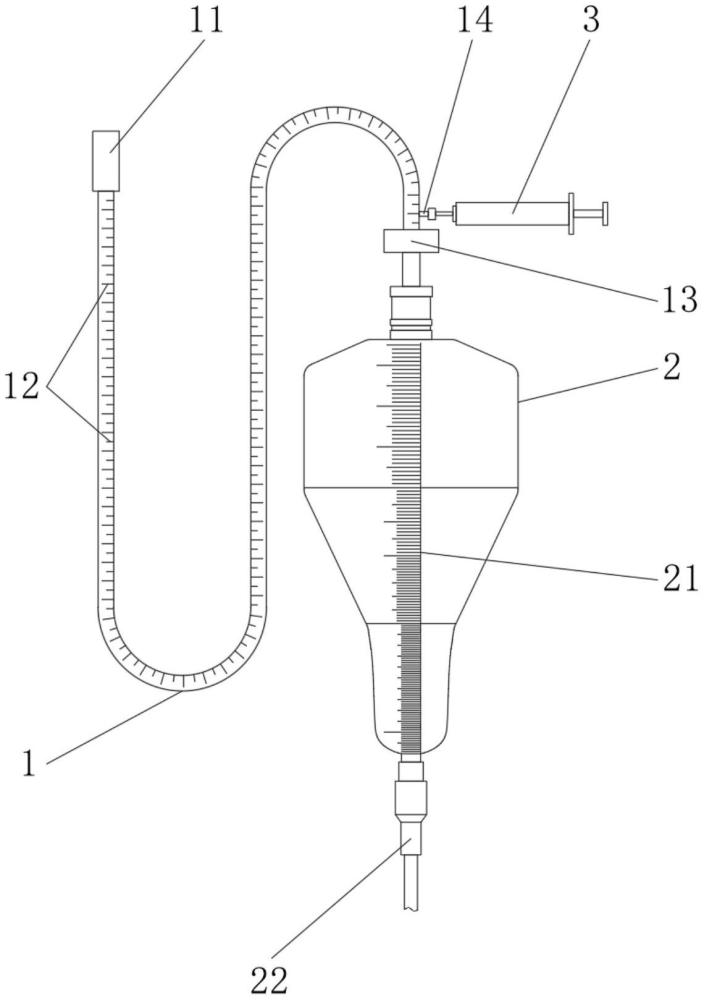
| 摘要: | 本实用新型涉及一种改良的精密计尿器,包括导管,在所述导管的前端设有能够与外设患者留置尿管连接的连接头,在所述导管上沿长度方向设有第一刻度,在所述导管的末端连接有测量瓶,在靠近所述测量瓶的导管上设有止流夹,在靠近所述止流夹上端的导管上设有能够与一注射器连接的取液接头,在所述测量瓶上沿该测量瓶的长度方向设有第二刻度,在所述测量瓶的下端设有出液接头。本实用新型有利于精准测量患者的尿量。 | ||||
| 补充信息 | |||||
| 转让方式: | 成熟度: | 预估价值: | |||
| 市场前景: | |||||