样品
成果详情
| 项目简介 | |||||
|---|---|---|---|---|---|
| 技术简介: | |||||
| 专利类型: | 实用新型 | 专利申请号: | CN202421086485.6 | 公开号: | CN222426530U |
| 专利权人: | 南方医科大学南方医院 | 发明设计人: | 何年红;彭阳;陈慧娴;古琼芳 | ||
| 所属领域: | |||||
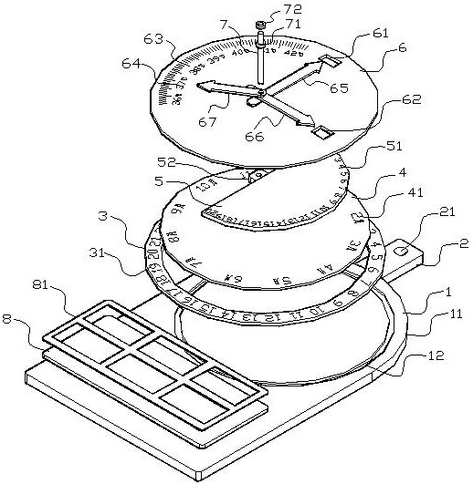
| 摘要: | 本实用新型涉及手术标识领域,尤其涉及一种手术患者信息标识牌,该标识牌可标识手术日期、术后天数、患者当前体温、患者引流量和尿量。包括底板,底板前侧面上侧设有第一时间盘,第一时间盘内围设有可转动的标识月份的月份盘,月份盘上侧右半部分设有可转动的标识术后天数的第二时间盘,第二时间盘上侧设有不可转动的圆形的盖板,盖板上侧设有第一矩形通孔,盖板右侧设有第二矩形通孔;盖板上侧的螺杆上旋拧有第一螺母,第一螺母上侧的螺杆上固定套设有指示第一时间盘的第一指针、指示术后天数的第二指针,第二指针上侧的螺杆上可转动套设有指示患者体温的第三指针;底板顶面中心位置固定设有吊挂部。它操作简单,使用方便,适用于多种患者。 | ||||
| 补充信息 | |||||
| 转让方式: | 成熟度: | 预估价值: | |||
| 市场前景: | |||||