样品
成果详情
| 项目简介 | |||||
|---|---|---|---|---|---|
| 技术简介: | |||||
| 专利类型: | 发明 | 专利申请号: | CN202311457868.X | 公开号: | CN117244145A |
| 专利权人: | 南方医科大学南方医院 | 发明设计人: | 孙慧美;黄新锋;陈榕梅;刘志新;王然 | ||
| 所属领域: | |||||
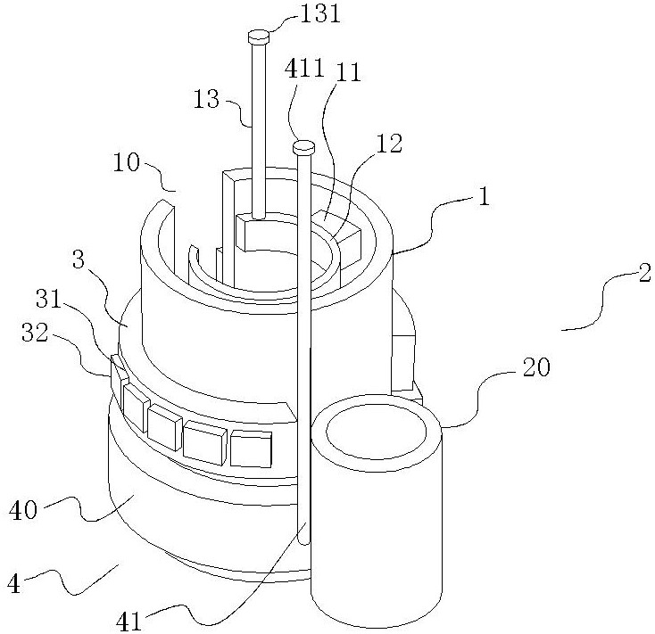
| 摘要: | 本发明涉及气管插管用牙垫领域,尤其涉及一种气管插管用防脱牙垫,该牙垫设有充气张紧结构,防止滑脱,且能够辅助治疗口腔疾病,有效解决背景技术中提出的问题。包括垫体,所述垫体呈两端开口的圆柱筒结构,且垫体一侧设有轴向贯通的矩形豁口,使得垫体横截面呈C型,所述垫体内表面粘接有第一固定块,第一固定块内端部固定设有定位部,定位部表面粘接有第一充气气囊,第一充气气囊上设有第一充气管,第一充气管向上延伸且末端设有第一塞堵;矩形豁口两侧的垫体外表面分别粘接有弧形硅胶垫,硅胶垫外表面分别嵌有与牙齿配合的牙槽,所述牙槽中粘接有海绵块;所述垫体外表面还固定设有充气张紧结构。它操作简单,使用方便,适用于多年龄段的人群。 | ||||
| 补充信息 | |||||
| 转让方式: | 成熟度: | 预估价值: | |||
| 市场前景: | |||||