样品
成果详情
| 项目简介 | |||||
|---|---|---|---|---|---|
| 技术简介: | |||||
| 专利类型: | 实用新型 | 专利申请号: | CN202021916341.0 | 公开号: | CN213609366U |
| 专利权人: | 南方医科大学南方医院 | 发明设计人: | 沈静;曾庆淦;黄良;张慧 | ||
| 所属领域: | |||||
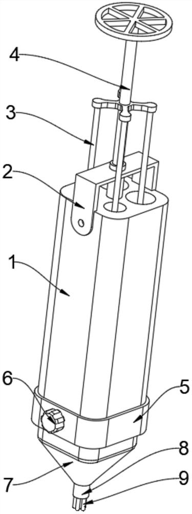
| 摘要: | 本实用新型公开了一种皮肤科皮肤上药器,包括混合壳体,所述混合壳体的上端面固定安装有连接支撑座,所述连接支撑座的一侧安装有锁紧头,所述混合壳体上端的内侧滑动连接有单向导流板,所述单向导流板的内侧均匀设置有四个导流槽,所述单向导流板的下端面设置有支撑弹簧,所述支撑弹簧的内侧安装有传动螺杆,所述传动螺杆中部的外侧设置有连接套,所述连接套的外侧安装有上药主体壳,所述上药主体壳的内部设置有两个第一储药筒,其中一个所述第一储药筒的一侧设置有第二储药筒。本实用新型通过对不同种类的药液进行分类填充,便于混合和涂抹操作,进而便于老年人的使用,清洗方便。 | ||||
| 补充信息 | |||||
| 转让方式: | 成熟度: | 预估价值: | |||
| 市场前景: | |||||