样品
成果详情
| 项目简介 | |||||
|---|---|---|---|---|---|
| 技术简介: | |||||
| 专利类型: | 实用新型 | 专利申请号: | CN202022976346.9 | 公开号: | CN214342949U |
| 专利权人: | 南方医科大学南方医院 | 发明设计人: | 姜玉梅;丁红;邓宇 | ||
| 所属领域: | |||||
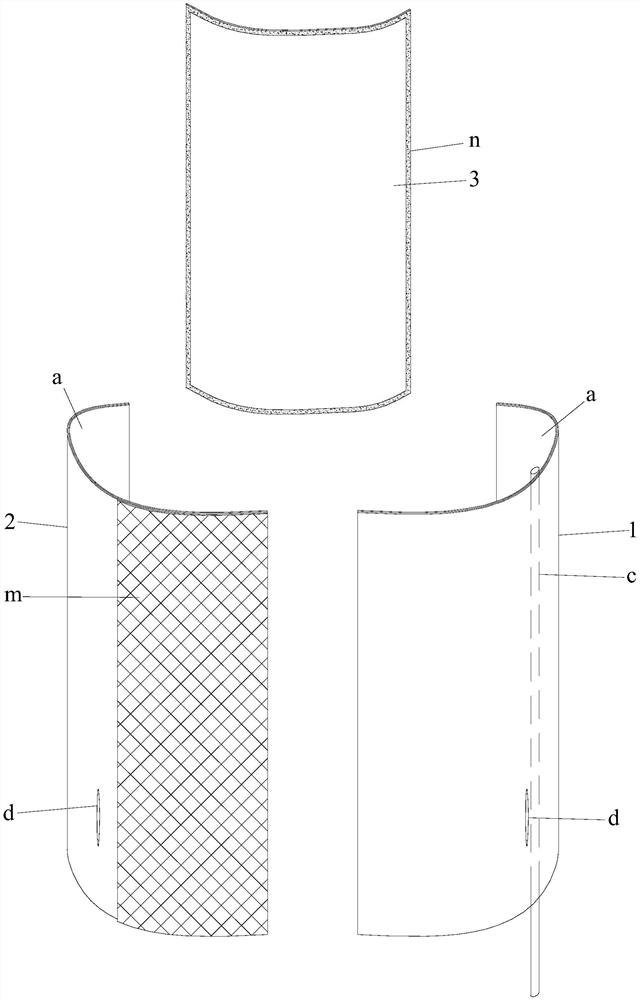
| 摘要: | 本实用新型公开了一种一次性腹部防脱管加压固定带,包括彼此独立的第一固定带和第二固定带,第一固定带和第二固定带的内面包括黏贴在患者背部和侧面且黏贴长度为从患者乳头位置至患者髂骨位置的皮肤黏贴面和非皮肤黏贴面,第一固定带的非皮肤黏贴面部分叠在第二固定带的外面且相叠位置通过魔术贴结构一相互粘接固定,第一固定带的非皮肤黏贴面在靠皮肤黏贴面处有引流管固定通路。本实用新型的一次性腹部防脱管加压固定带给患者使用时不需要给患者翻身,避免了患者出现呛咳等,保证复苏质量,节约人力,且能够有效固定敷料以及固定住引流管,有效预防患者自行拔除切口引流管。 | ||||
| 补充信息 | |||||
| 转让方式: | 成熟度: | 预估价值: | |||
| 市场前景: | |||||