样品
成果详情
| 项目简介 | |||||
|---|---|---|---|---|---|
| 技术简介: | |||||
| 专利类型: | 发明 | 专利申请号: | CN202310152126.X | 公开号: | CN116115309A |
| 专利权人: | 南方医科大学南方医院 | 发明设计人: | 刘欢欢;彭金浩;邹金华;吴德华;齐宏亮;董忠谊;李翰威;陈佩娟;邓素芬;刘忠强 | ||
| 所属领域: | |||||
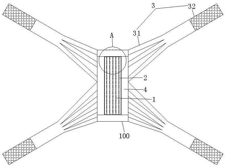
| 摘要: | 本发明公开了一种适用于CT引导下控制皮肤肌肉张力显影线,包括由显影线和透明胶带构成的显影线本体,显影线有多条且并排布置,透明胶带的粘性面黏贴固定在该多条显影线的同侧表面,至少在所述显影线本体的两相对侧有朝相同方向或朝相反方向牵拉固定松弛部位皮肤肌肉的自粘性弹性肌内效贴布,自粘性弹性肌内效贴布的接近显影线本体端放射状分叉形成可向同一方向牵拉的多个牵拉带,自粘性弹性肌内效贴布的远离显影线本体端为固定于CT床的固定端。本发明可减少显影线标记出现误差,提高活检获取到目标组织的成功率。 | ||||
| 补充信息 | |||||
| 转让方式: | 成熟度: | 预估价值: | |||
| 市场前景: | |||||