样品
成果详情
| 项目简介 | |||||
|---|---|---|---|---|---|
| 技术简介: | |||||
| 专利类型: | 实用新型 | 专利申请号: | CN202320862450.6 | 公开号: | CN219613852U |
| 专利权人: | 南方医科大学珠江医院 | 发明设计人: | 杨琼辉;覃爱开;罗锦兰;颜必莲 | ||
| 所属领域: | |||||
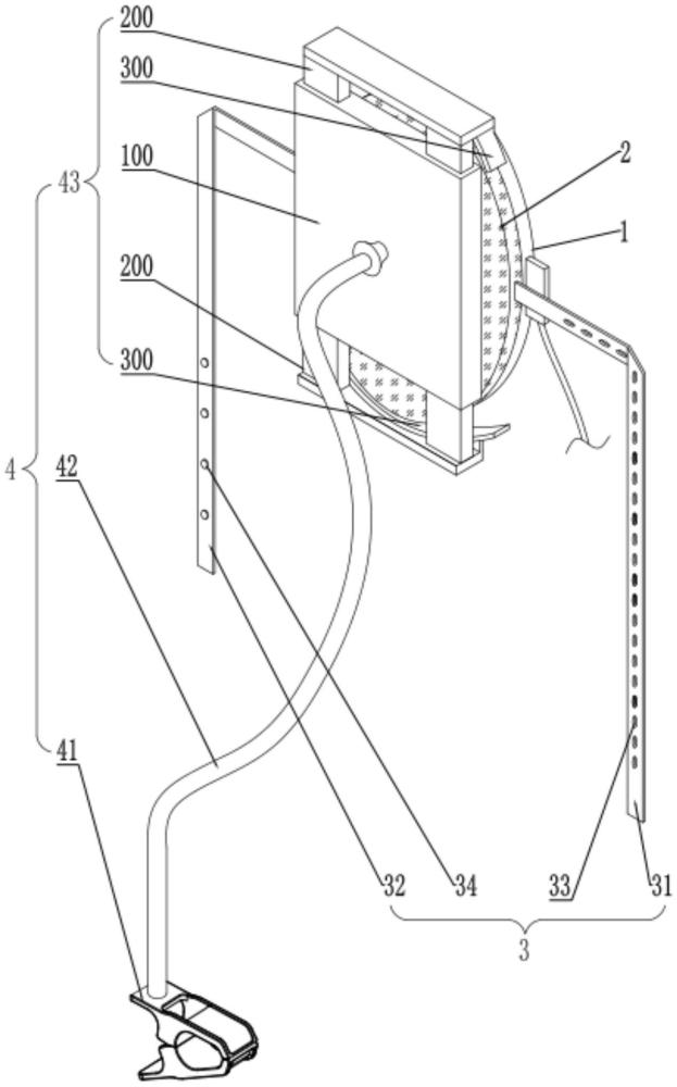
| 摘要: | 本实用新型公开了一种用于分娩时固定胎心监护探头的装置,包括用于套在外部的胎心监护探头上的限定套且该限定套的套设深度小于所述胎心监护探头的厚度,在所述限定套上设有一用于将该限定套连同所述胎心监护探头一起限定在孕妇肚子上的弹力带;还包括探头限定支架结构,所述探头限定支架结构的一端与外部的物体可拆卸连接,所述探头限定支架结构的另一端与所述胎心监护探头可拆卸夹持配合用于将该胎心监护探头抵压贴合在孕妇肚子上。本实用新型具有在孕妇侧卧分娩时胎心监护探头固定稳固可靠不易出现移位现象、能够有效保持胎心监护探头与孕妇肚子的贴合状态以提高胎心监测的准确度的优点。 | ||||
| 补充信息 | |||||
| 转让方式: | 成熟度: | 预估价值: | |||
| 市场前景: | |||||