样品
成果详情
| 项目简介 | |||||
|---|---|---|---|---|---|
| 技术简介: | |||||
| 专利类型: | 实用新型 | 专利申请号: | CN202020252151.7 | 公开号: | CN212592168U |
| 专利权人: | 南方医科大学南方医院 | 发明设计人: | 曾辉;陈卫国 | ||
| 所属领域: | |||||
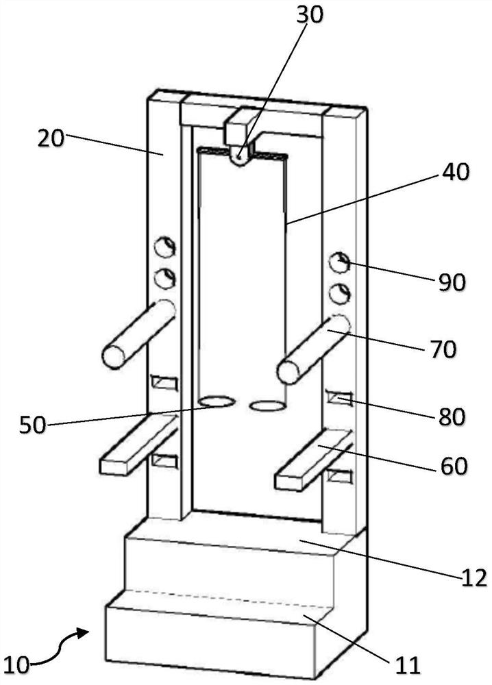
| 摘要: | 本实用新型公开了一种X线摄影辅助装置,包括站立台阶、门架和悬挂装置,门架设于站立台阶上,悬挂装置包括固定件、两弹性绳和两腿部套圈,固定件固定于门架上部,两弹性绳悬挂于固定件的两侧,两腿部套圈分别与两弹性绳的下端固定连接。本实施例的X线摄影辅助装置,用于辅助患者进行膝关节、踝关节的X线摄影,让患者站立在站立台阶上,两个腿部套圈分别套于两腿根部,弹性绳可提供一定的悬挂力,悬挂装置能够防止患者失去平衡时跌倒,使患者能够在站立姿态下拍摄膝关节和踝关节的图像,可观察负重时的关节间隙,此实用新型用于医学影像技术领域。 | ||||
| 补充信息 | |||||
| 转让方式: | 成熟度: | 预估价值: | |||
| 市场前景: | |||||