样品
成果详情
| 项目简介 | |||||
|---|---|---|---|---|---|
| 技术简介: | |||||
| 专利类型: | 实用新型 | 专利申请号: | CN202021280605.8 | 公开号: | CN212730755U |
| 专利权人: | 南方医科大学南方医院 | 发明设计人: | 郭萍;黄榕;曾灿辉;郭亚云;曾嘉 | ||
| 所属领域: | |||||
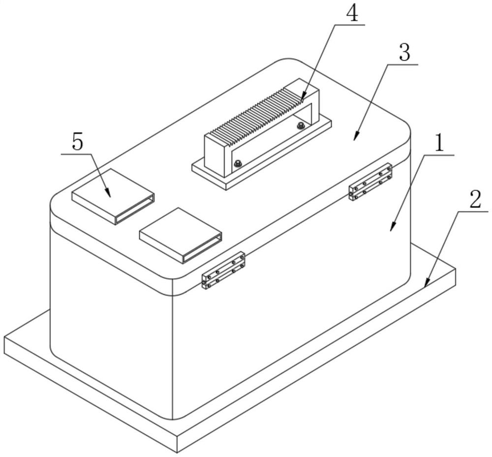
| 摘要: | 本实用新型公开了一种简易呼吸气囊收纳盒,具体涉及医疗配件技术领域,包括箱体,所述箱体的下方设置有底板,所述箱体的上方铰接设置有箱盖,所述箱盖的下方设置有压合件。本实用新型通过整体设计,将抢救过程中所需要的复苏球囊、面罩、开口器放置在箱体内部,向内推送第一倒钩,解除第一倒钩和第二倒钩之间的锁定状态,被压缩的复位弹簧就会进行复位,从而推动活动板向下运动,分散的压合棉就会与配件相接触,活动杆上的弹簧被拉伸,使得压合棉能够更加全面的契合在所放置的配件上,对内部的物品进行限位固定,有效的保证了其放置后的稳固性,避免了在携带运输过程中,造成内部配件松动以及损坏的现象,提高了其使用安全性。 | ||||
| 补充信息 | |||||
| 转让方式: | 成熟度: | 预估价值: | |||
| 市场前景: | |||||