样品
成果详情
| 项目简介 | |||||
|---|---|---|---|---|---|
| 技术简介: | |||||
| 专利类型: | 实用新型 | 专利申请号: | CN202121384068.6 | 公开号: | CN215584341U |
| 专利权人: | 南方医科大学珠江医院 | 发明设计人: | 李辉;陈群清;童健;张福伟;贾龙飞;黄洋 | ||
| 所属领域: | |||||
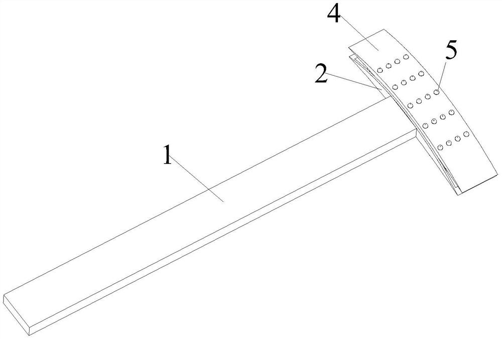
| 摘要: | 本公开属于医疗器械领域,公开一种可用于肋骨骨折固定手术的肋骨断端抬举器,包括抬举杆,抬举杆的一端固定有缓冲凹槽,缓冲凹槽的槽底固定有缓冲弹簧,缓冲弹簧远离缓冲凹槽的一端固定连接有与缓冲凹槽匹配的滑动连接的抬举托板,抬举托板通过缓冲弹簧在缓冲凹槽内滑动;抬举托板的外轮廓与人体内的肋骨外轮廓相贴合;医生抬高该抬举器,使得骨折断端有效的抬高,可以避免长段肋骨呈现游离状态;便于医生置放固定板对肋骨进行固定。 | ||||
| 补充信息 | |||||
| 转让方式: | 成熟度: | 预估价值: | |||
| 市场前景: | |||||