样品
成果详情
| 项目简介 | |||||
|---|---|---|---|---|---|
| 技术简介: | |||||
| 专利类型: | 实用新型 | 专利申请号: | CN202020740965.5 | 公开号: | CN212325572U | 
| 专利权人: | 南方医科大学南方医院 | 发明设计人: | 罗笑婷;王莉慧;曹彩玲 | ||
| 所属领域: | |||||
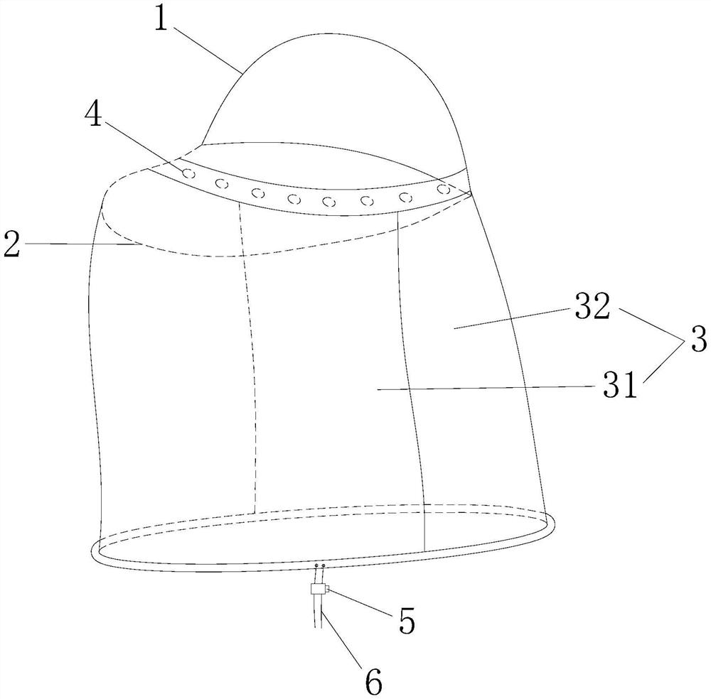
| 摘要: | 本实用新型公开了一种新型的防蚊帽,包括帽顶、帽檐和防蚊罩,所述防蚊罩为环形披肩罩,防蚊罩的上端套在帽顶和帽檐上并且与帽顶及帽檐可拆卸固定连接,防蚊罩包括位于前侧的网纱和位于后侧的非网状护颈布,非网状护颈布与网纱固定连接为一体,非网状护颈布与网纱的下端连接有防风调节绳。本实用新型的新型的防蚊帽能避免蚊虫叮咬,避免感染登革热及引起家庭暴发疫情。 | ||||
| 补充信息 | |||||
| 转让方式: | 成熟度: | 预估价值: | |||
| 市场前景: | |||||