样品
成果详情
| 项目简介 | |||||
|---|---|---|---|---|---|
| 技术简介: | |||||
| 专利类型: | 实用新型 | 专利申请号: | CN202323264844.0 | 公开号: | CN221359959U |
| 专利权人: | 南方医科大学深圳医院 | 发明设计人: | 陈琪;彭芬芬 | ||
| 所属领域: | |||||
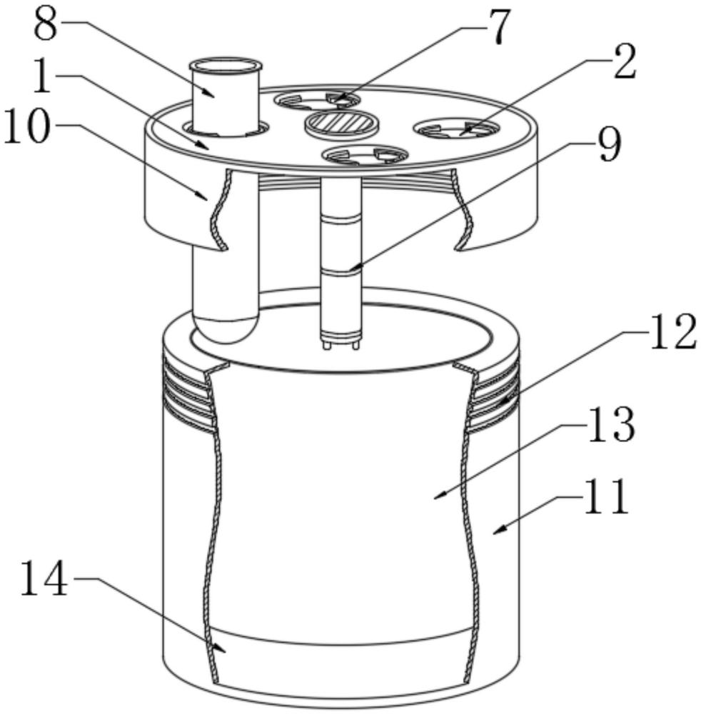
| 摘要: | 本实用新型公开了一种防止试管晃动脱落的冰浴杯,涉及冰浴杯技术领域,包括转板,所述转板的表面上方开设有插口,所述插口的表面两侧均开设有收束腔,所述收束腔的内表面两侧均固定安装有导向杆,所述导向杆的表面滑动设置有滑块,所述收束腔的内表面两侧套设于导向杆表面均固定安装有推力弹簧,所述推力弹簧的一端与滑块固定连接,所述滑块的对向一端中部固定设置有夹持环,且夹持环设置为半弧形,所述插口的内部位于两侧夹持环之间设置有实验试管,且转板的中部贯穿固定设置有温度检测仪。该试管用冰浴杯,与现有的普通试管用冰浴杯相比,夹持环挤压实验试管,对实验试管进行夹持固定,极大提高了实验试管放置的稳定性,防止实验试管晃动偏移或滑脱。 | ||||
| 补充信息 | |||||
| 转让方式: | 成熟度: | 预估价值: | |||
| 市场前景: | |||||