样品
成果详情
| 项目简介 | |||||
|---|---|---|---|---|---|
| 技术简介: | |||||
| 专利类型: | 实用新型 | 专利申请号: | CN202421646017.X | 公开号: | CN223026512U |
| 专利权人: | 南方医科大学珠江医院 | 发明设计人: | 姜岩;林嘉诚;李书芳;申海燕;刘亚珍;张博;刘星 | ||
| 所属领域: | |||||
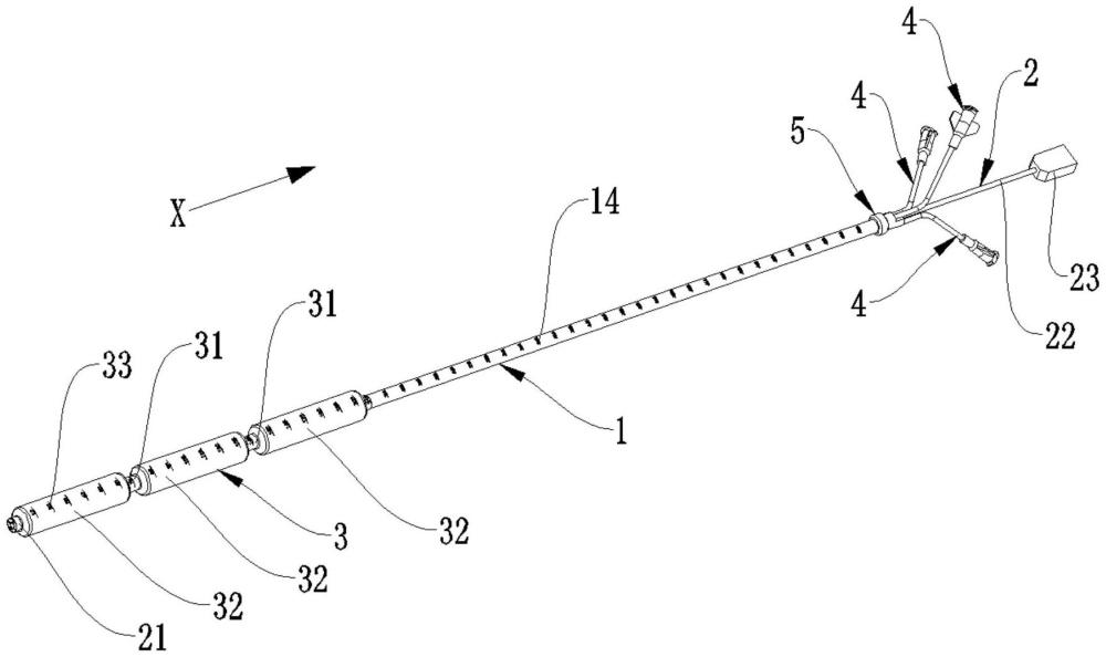
| 摘要: | 本实用新型涉及医疗器械技术领域,公开了一种可视扩张器,所述可视扩张器包括导管、内窥镜、扩张件和多个接口件;所述导管开设有第一安装孔和多个第一通道;所述内窥镜包括镜头部和连接部;所述扩张件包括连接管和球囊管,所述连接管的内壁和所述导管的外壁密封连接,所述球囊管的内壁和所述导管的外壁之间围合形成有扩张腔,所述球囊管的数量为多个,相邻两个所述球囊管之间通过所述连接管相连接;一个所述接口件通过一个所述第一通道和一个所述扩张腔相连通;本实用新型所提供的一种可视扩张器通过连接管、多个球囊管、多个第一通道和多个接口件,在使用时能够根据不同患者的不同情况对应调节扩张长度,匹配性较好。 | ||||
| 补充信息 | |||||
| 转让方式: | 成熟度: | 预估价值: | |||
| 市场前景: | |||||