样品
成果详情
| 项目简介 | |||||
|---|---|---|---|---|---|
| 技术简介: | |||||
| 专利类型: | 实用新型 | 专利申请号: | CN202120323230.7 | 公开号: | CN215134178U | 
| 专利权人: | 南方医科大学南方医院 | 发明设计人: | 许丽清;魏红云;史秀英;欧庆;李裕城;汪芳;万成兵;颜文娟;唐丽 | ||
| 所属领域: | |||||
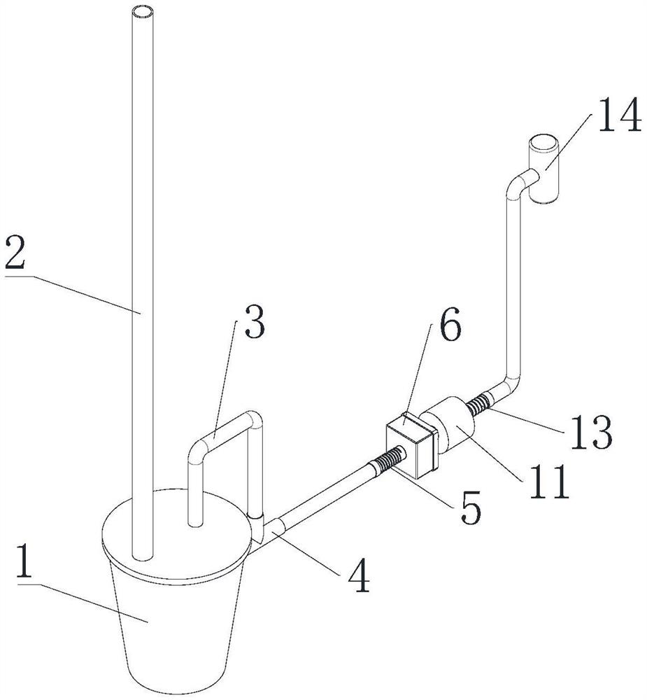
| 摘要: | 本实用新型公开了一种具有细菌过滤且防渗的负压吸引转接器,该转接器创新性的通过在细菌过滤器内设置由左右两侧无纺布及中间各一层PM2.5过滤层及活性炭过滤层,实现将细菌过滤的目的,并在细菌过滤器的前端设置了吸管螺纹接头用于连接吸引管,在细菌过滤器的后端通过连接管与防渗透管固定连接,并在防渗透管的内部设置了膨胀止水环,当污染液如引流液、血液误入后,通过遇水膨胀止水环,膨胀止水环通过膨胀将防渗透管填满堵塞,引流液就无法进一步进入负压发生器中污染整个负压源系统,该装置解决了现有负压吸引连接装置中结构简单、无细菌过滤功能,且操作不当易导致引流液、痰液,血等污染液进入负压源内,影响负压吸引器使用的问题。 | ||||
| 补充信息 | |||||
| 转让方式: | 成熟度: | 预估价值: | |||
| 市场前景: | |||||