样品
成果详情
| 项目简介 | |||||
|---|---|---|---|---|---|
| 技术简介: | |||||
| 专利类型: | 实用新型 | 专利申请号: | CN202020428751.4 | 公开号: | CN212490235U |
| 专利权人: | 南方医科大学南方医院 | 发明设计人: | 欧毅超;冯展鹏;周明锋;王兴勤;彭君洁;武广森;李凯;龚浩东;刘亚伟;漆松涛 | ||
| 所属领域: | |||||
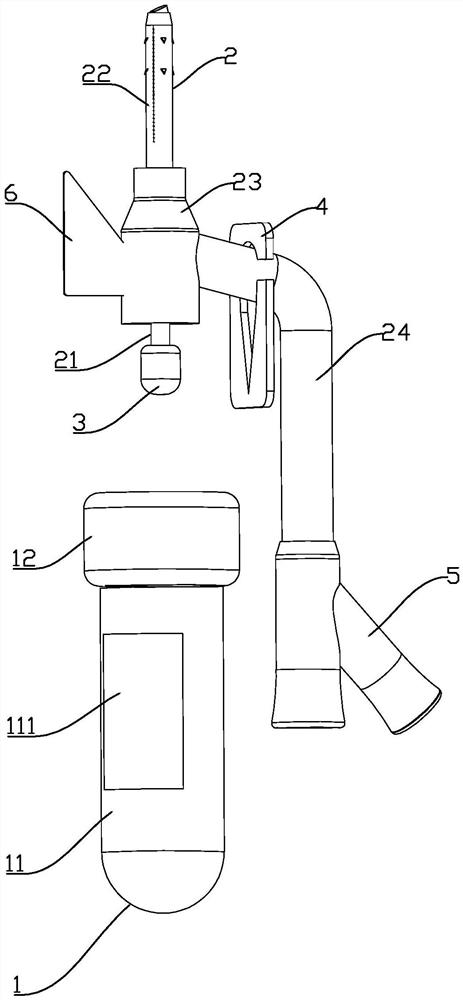
| 摘要: | 本实用新型公开了一种小动物一体式血液采集及灌注器,包括了收集管和穿刺留置器,穿刺留置器具备配套组合的采集针及灌注管,用之能够实现连续的采血和灌注操作,过程中无需反复更换器材,操作便捷,也极大减小了小动物在灌注前的死亡率,确保灌注效果;再者,收集管的管体内部抽真空处理,如此减少了血液与空气之间的接触,提高了采集到的血液的纯净度,且当采集针的尾端从盖帽插入管体后,在压强的作用下,小动物体内的血液将自动流入管体内,更好地提高了血液的采集效率,此实用新型用于生物实验器械领域。 | ||||
| 补充信息 | |||||
| 转让方式: | 成熟度: | 预估价值: | |||
| 市场前景: | |||||