样品
成果详情
| 项目简介 | |||||
|---|---|---|---|---|---|
| 技术简介: | |||||
| 专利类型: | 实用新型 | 专利申请号: | CN202020357331.1 | 公开号: | CN212234401U |
| 专利权人: | 南方医科大学南方医院 | 发明设计人: | 庞战军;庞凡 | ||
| 所属领域: | |||||
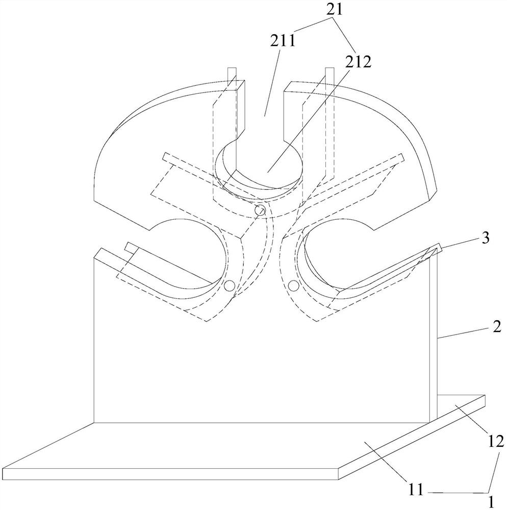
| 摘要: | 本实用新型公开了一种腹腔镜手术用镜头固定支架,包括平板、垂直固定在平板上侧的竖板,竖板上切割出多个可供镜头选择穿过的凹槽,竖板的后侧在对应各凹槽的位置活动安装有可顺时针或者逆时针转动的用于放置腹腔镜外接摄像头的手柄的槽架。本实用新型的腹腔镜手术用镜头固定支架便于术者按照自己的手术暴露需求,固定和调准镜头方向和位置,对腹腔镜手术的顺利进行具有较大帮助。 | ||||
| 补充信息 | |||||
| 转让方式: | 成熟度: | 预估价值: | |||
| 市场前景: | |||||