样品
成果详情
| 项目简介 | |||||
|---|---|---|---|---|---|
| 技术简介: | |||||
| 专利类型: | 发明 | 专利申请号: | CN201010130376.6 | 公开号: | CN101862482A |
| 专利权人: | 南方医科大学珠江医院 | 发明设计人: | 高毅;周焕城;李明;蒋泽生;张志 | ||
| 所属领域: | |||||
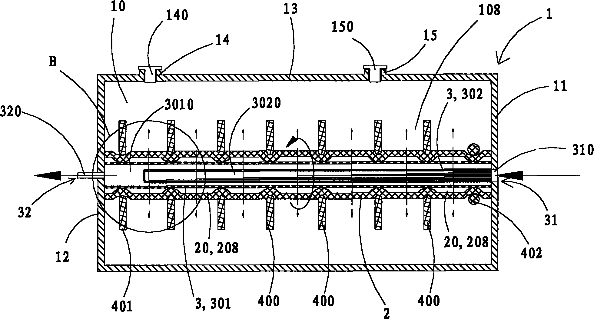
| 摘要: | 本发明公开一种多房分隔式生物反应器及其控制系统和方法,其主要改进在于其中的生物反应器所形成的反应室被分为多个相对独立的反应区,并改进出口通道和入口通道,使得第二流体能以梯度式递减分流进入各个反应区,在各位反应区中独立与第一流体进行反应后,再行从出口通道流出。由此,本发明综合解决了现有的生物反应器存在的灌注不均、死腔、堵塞及交换率低等问题。 | ||||
| 补充信息 | |||||
| 转让方式: | 成熟度: | 预估价值: | |||
| 市场前景: | |||||