样品
成果详情
| 项目简介 | |||||
|---|---|---|---|---|---|
| 技术简介: | |||||
| 专利类型: | 实用新型 | 专利申请号: | CN202021394979.2 | 公开号: | CN213156851U |
| 专利权人: | 南方医科大学南方医院 | 发明设计人: | 程梅容;万柔;易亚亚;徐紫帆;侯文静 | ||
| 所属领域: | |||||
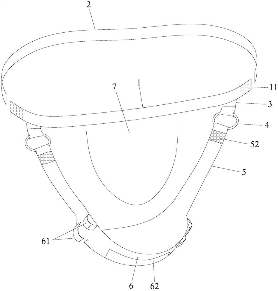
| 摘要: | 本实用新型公开了一种一次性可拆卸式阴囊网托,包括前腰带和后腰带,前腰带的两端与后腰带的两端可拆卸连接,前腰带的左右侧分别有一个扣环,各扣环可拆卸连接有一提拉带的上端,两条提拉带的下端均连接至一阴囊网兜袋,阴囊网兜袋的前侧左右位置分别有引流管穿置环。本实用新型的一次性可拆卸式阴囊网托既能托住阴囊,防止阴囊下坠,减轻水肿,又能够固定引流管,防止脱管,减小了日常护理难度及工作量,降低了患者感染风险。 | ||||
| 补充信息 | |||||
| 转让方式: | 成熟度: | 预估价值: | |||
| 市场前景: | |||||